|
【专利介绍】一种液体硅胶钢桶的桶内覆膜装置
文/苏瑞萍
申请号:202220250639 .5
申请日:2022 .02 .07
专利权人:济宁源盛包装容器有限公司
发明人:苏瑞萍、陈吉壮、张仕常、谢国栋、盛浩
摘要
本实用新型公开了一种液体硅胶钢桶的桶内覆膜装置,包括台体以及设置在台体上的桶身,所述台体上安装有螺纹丝杆,所述螺纹丝杆上螺纹连接有滑块,所述滑块和4台体滑动连接,所述滑块上固定连接有第一安装块,所述第一安装块上转动设置有转动轴,所述转动轴上固定连接有两个第一伸缩杆,每个所述第一伸缩杆上均转动连接有覆膜辊,所述覆膜辊上转动连接有第二伸缩杆,每个所述第二伸缩杆均和转动轴固定连接,所述第二伸缩杆上铰接有拉杆,所述转动轴上滑动连接有环形块。本实用新型可以通过环形块和转动轴的配合,在仅使用一种规格的覆膜装置的情况下,对不同直径的桶身进行覆膜,操作十分便捷,从而降低生产成本。

权利要求书
1、一种液体硅胶钢桶的桶内覆膜装置,包括台体(1)以及设置在台体(1)上的桶身,其特征在于,所述台体(1)上安装有螺纹丝杆(2),所述螺纹丝杆(2)上螺纹连接有滑块(3),所述滑块(3)和台体(1)滑动连接,所述滑块(3)上固定连接有第一安装块(4),所述第一安装块(4)上转动设置有转动轴(5),所述转动轴(5)上固定连接有两个第一伸缩杆(6),每个所述第一伸缩杆(6)上均转动连接有覆膜辊(7),所述覆膜辊(7)上转动连接有第二伸缩杆(8),每个所述第二伸缩杆(8)均和转动轴(5)固定连接,所述第二伸缩杆(8)上铰接有拉杆(9),所述转动轴(5)上滑动连接有环形块(10),每个所述拉杆(9)均和环形块(10)铰接,所述转动轴(5)上开设有多个凹槽,所述环形块(10)上滑动连接有固定杆(11),所述固定杆(11)和凹槽卡接,所述固定杆(11)上转动连接有限位杆(12),所述环形块(10)上开设有限位槽,所述限位杆(12)和限位槽卡接。
2、根据权利要求1所述的一种液体硅胶钢桶的桶内覆膜装置,其特征在于,所述台体(1)上固定安装有两个电动伸缩杆(13),每个所述电动伸缩杆(13)上均固定连接有卡块(14),所述桶身设置在两个卡块(14)之间。
3、根据权利要求1所述的一种液体硅胶钢桶的桶内覆膜装置,其特征在于,所述台体(1)上固定连接有两个第二安装块,两个所述第二安装块和所述螺纹丝杆(2)转动连接,所述螺纹丝杆(2)一端固定连接有把手。
4、根据权利要求1所述的一种液体硅胶钢桶的桶内覆膜装置,其特征在于,所述第一安装块(4)上固定安装有伺服电机(15),所述伺服电机(15)的输出轴和转动轴(5)固定连接。
5、根据权利要求1所述的一种液体硅胶钢桶的桶内覆膜装置,其特征在于,所述台体(1)上开设有圆槽(16),所述圆槽(16)和所述转动轴(5)转动连接。
6、根据权利要求1所述的一种液体硅胶钢桶的桶内覆膜装置,其特征在于,所述台体(1)上设置有多个支撑底座(17),多个所述支撑底座(17)呈对称设置。
说明书
1、技术领域
本实用新型涉及覆膜技术领域,尤其涉及一种液体硅胶钢桶的桶内覆膜装置。
2、背景技术
覆膜,是指透明塑料薄膜通过热压覆盖到目标物表面,对目标物起到一定的保护作用,其中就包括一种盛放液体硅胶的钢桶,一般会对钢桶内部进行覆膜,对钢桶内部进行覆膜时,就需要使用到对应的覆膜装置,由于桶身和桶底的夹角处不易覆膜,所以在生产过程中,一般会将桶身和桶底分开覆膜。目前市场上对桶身进行覆膜的覆膜装置,大多数只能对同一直径的钢桶进行覆膜,当需要对不同直径的钢桶桶身进行覆膜时,就需要使用不同规格的覆膜装置,操作十分繁琐,从而导致生产成本增加。
3、实用新型内容
实用新型的目的是为了解决现有技术中以下缺点,目前市场上对桶身进行覆膜的覆膜装置,大多数只能对同一直径的钢桶进行覆膜,当需要对不同直径的钢桶桶身进行覆膜时,就需要使用不同规格的覆膜装置,操作十分繁琐,从而导致生产成本增加,而提出的一种液体硅胶钢桶的桶内覆膜装置。
为了实现上述目的,本实用新型采用了如下技术方案:
一种液体硅胶钢桶的桶内覆膜装置,包括台体以及设置在台体上的桶身,所述台体上安装有螺纹丝杆,所述螺纹丝杆上螺纹连接有滑块,所述滑块和台体滑动连接,所述滑块上固定连接有第一安装块,所述第一安装块上转动设置有转动轴,所述转动轴上固定连接有两个第一伸缩杆,每个所述第一伸缩杆上均转动连接有覆膜辊,所述覆膜辊上转动连接有第二伸缩杆,每个所述第二伸缩杆均和转动轴固定连接,所述第二伸缩杆上铰接有拉杆,所述转动轴上滑动连接有环形块,每个所述拉杆均和环形块铰接,所述转动轴上开设有多个凹槽,所述环形块上滑动连接有固定杆,所述固定杆和凹槽卡接,所述固定杆上转动连接有限位杆,所述环形块上开设有限位槽,所述限位杆和限位槽卡接。
优选的,所述台体上固定安装有两个电动伸缩杆,每个所述电动伸缩杆上均固定连接有卡块,所述桶身设置在两个卡块之间。
优选的,所述台体上固定连接有两个第二安装块,两个所述第二安装块和所述螺纹丝杆转动连接,所述螺纹丝杆一端固定连接有把手。
优选的,所述第一安装块上固定安装有伺服电机,所述伺服电机的输出轴和转动轴固定连接。
优选的,所述台体上开设有圆槽,所述圆槽和所述转动轴转动连接。优选的,所述台体上设置有多个支撑底座,多个所述支撑底座呈对称设置。
与现有技术相比,本实用新型的有益效果是:
当需要对通身进行覆膜时,在环形块上施加作用力,使得环形块和转动轴发生相对滑动,带动拉杆运动,从而带动第二伸缩杆运动,第二伸缩杆运动带动覆膜辊运动,覆膜辊做竖直方向上的稳定运动,此时两个覆膜辊相互远离,直至和各自对应位置处的桶身紧密接触,之后对环形块进行固定,覆膜辊转动,即可对桶身进行覆膜,通过环形块和转动轴的配合,可以在仅使用一种规格的覆膜装置的情况下,对不同直径的桶身进行覆膜,操作十分便捷,从而降低生产成本。
4、附图说明
图1为本实用新型提出的一种液体硅胶钢桶的桶内覆膜装置的正面剖视结构示意图;

图1
图2为图1中A的局部放大图。

图2
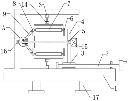
图中:1台体、2螺纹丝杆、3滑块、4第一安装块、5转动轴、6第一伸缩杆、7覆膜辊、8第二伸缩杆、9拉杆、10环形块、11固定杆、12限位杆、13电动伸缩杆、14卡块、15伺服电机、16圆槽、17支撑底座。
5、具体实施方式
下面将结合本实用新型实施例中的附图,对本实用新型实施例中的技术方案进行清楚、完整地描述,显然,所描述的实施例仅仅是本实用新型一部分实施例,而不是全部的实施例。
本实用新型中所引用的如“上”、“下”、“左”、“右”、“中间”及“一”等的用语,亦仅为便于叙述的明了,而非用以限定本实用新型可实施的范围,其相对关系的改变或调整,在无实质变更技术内容下,当亦视为本实用新型可实施的范畴。
参照图1‑2,一种液体硅胶钢桶的桶内覆膜装置,包括台体1以及设置在台体1上的桶身,台体1上设置有多个支撑底座17,多个支撑底座17呈对称设置,通过在台体1上设置多个呈对称设置的支撑底座17,可以提高台体1的稳定性。
台体1上固定安装有两个电动伸缩杆13,每个电动伸缩杆13上均固定连接有卡块14,桶身设置在两个卡块14之间,通过在台体1上设置两个电动伸缩杆13,可以调整两个卡块14之间的距离,从而实现对不同直径的桶身的卡接固定。
台体1上固定连接有两个第二安装块,两个第二安装块和螺纹丝杆2转动连接,螺纹丝杆2一端固定连接有把手,通过转动把手,可以更加省力快速的转动螺纹丝杆2,节省时间成本。
台体1上安装有螺纹丝杆2,螺纹丝杆2上螺纹连接有滑块3,滑块3和台体1滑动连接,滑块3上固定连接有第一安装块4,第一安装块4上转动设置有转动轴5,台体1上开设有圆槽16,圆槽16和转动轴5转动连接,通过在台体1上设置圆槽16,可以使得转动轴5的一端和圆槽16连接,增加转动轴5的稳定性,更有利于覆膜。
转动轴5上固定连接有两个第一伸缩杆6,每个第一伸缩杆6上均转动连接有覆膜辊7,覆膜辊7上转动连接有第二伸缩杆8,每个第二伸缩杆8均和转动轴5固定连接,第一安装块4上固定安装有伺服电机15,伺服电机15的输出轴和转动轴5固定连接,在伺服电机15的驱动下,可以使转动轴5转动,带动第一伸缩杆6以及第二伸缩杆8转动,从而带动覆膜辊7运动,使得覆膜工作可以顺利进行。
第二伸缩杆8上铰接有拉杆9,转动轴5上滑动连接有环形块10,每个拉杆9均和环形块10铰接,转动轴5上开设有多个凹槽,环形块10上滑动连接有固定杆11,固定杆11和凹槽卡接,固定杆11上转动连接有限位杆12,环形块10上开设有限位槽,限位杆12和限位槽卡接。
本实用新型中,当需要对桶身进行覆膜时,利用两个卡块14对桶身进行固定,再在把手上施加作用力,带动螺纹丝杆2转动,从而带动滑块3运动,滑块3同时和台体1发生相对滑动,滑块3运动带动第一安装块4一起运动,从而带动转动轴5运动,直至转动轴5和圆槽16连接,再在环形块10上施加作用力,使得环形块10和转动轴5发生相对滑动,带动拉杆9运动,从而带动第二伸缩杆8运动,第二伸缩杆8运动带动覆膜辊7运动,第一伸缩杆6同时发生移动,覆膜辊7做竖直方向上的稳定运动,此时两个覆膜辊7相互远离,直至和各自对应位置处的桶身内壁紧密接触,再转动限位杆12,直至其转动到可以和限位槽卡接的位置处,再在限位杆12上施加作用力,使得限位杆12和限位槽卡接,同时带动固定杆11和环形块10发生相对滑动,使得固定杆11和对应的凹槽卡接,使得覆膜辊7可以保持和桶身内壁紧密接触的状态,再启动伺服电机15,驱动转动轴5转动,带动第一伸缩杆6以及第二伸缩杆8转动,从而带动覆膜辊7转动,对桶身进行覆膜,通过环形块10和转动轴5的配合,可以在仅使用一种规格的覆膜装置的情况下,对不同直径的桶身进行覆膜,操作十分便捷,从而降低生产成本。
在本实用新型中,除非另有明确的规定和限定,术语“安装”、“相连”、“连接”、“固定”等术语应做广义理解。
以上所述,仅为本实用新型较佳的具体实施方式,但本实用新型的保护范围并不局限于此,任何熟悉本技术领域的技术人员在本实用新型揭露的技术范围内,根据本实用新型的技术方案及其实用新型构思加以等同替换或改变,都应涵盖在本实用新型的保护范围之内。
|