封闭箍式卷边型封闭器、其密封、夹紧以及制造方法
张连元
申请号:CN200610039448.X
公开号:CN101024432A
IPC分类号:B65D45/32; B65D43/02; B21D51/44; B21D19/12; B65D53/00
发明人:张连元
摘 要
本发明公开了包装钢桶领域内一种可拆卸桶顶盖的闭口锥形钢桶封闭箍式卷边型封闭器,其密封、夹紧以及制造方法。本发明封闭器使闭口锥形钢桶具备闭口圆柱形钢桶全部技术性能,并能在需要时打开封闭器,把闭口锥形桶桶顶盖取下来,做为全开口锥形钢桶使用。本发明封闭器,利用O形圈密封和自封原理,在桶顶盖重叠环状圆弧槽与桶口卷边之间形成固定密封槽空间,当卷边型封闭器夹紧后,O形圈利用进入密封槽时受到压缩产生的回弹力将桶顶盖与桶口密封起来。闭口锥形钢桶在长途运输时,桶顶盖可以取下来,桶身互相承插堆码,可节省70%的运输费用,当旧钢桶清洗修复时,把桶顶盖取下来,清洗设备直接进入桶内工作,可节省50%清洗修复费用。
权利要求书
1、一种封闭箍式卷边型封闭器,它包括桶顶盖3,O形圈11,桶口多重管状卷边13和卷边型封闭器箍1。
其特征在于:卷边型封闭器能将闭口钢桶桶顶盖3固定在全开口锥形钢桶7的桶身上,使全开口锥形钢桶具备闭口圆柱形钢桶的技术性能,全开口锥形钢桶即可作为闭口钢桶使用。
当闭口锥形钢桶在长途运输和清洗修复时,可打开卷边型封闭器箍,取下桶顶盖,闭口锥形钢桶又转换为全开口锥形钢桶。
2、按照权利要求1所述的封闭箍式卷边型封闭器
其特征在于:所述的桶顶盖3的凸缘12是二个不同半径圆弧槽重叠组成的复合环形槽,大圆弧槽17作为定位槽,小圆弧槽15作为密封卷安装槽,小圆弧槽可以是矩形,当大圆弧槽17与桶口多重卷边13定位后,小圆弧槽15将在二者之间形成一个固定密封空间16。
3、按照权利要求1所述的封闭箍式卷边型封闭器。
其特征在于:所述的桶口管状卷边13的截面为多重空心圆管状,卷管在2层以上,类似二根管子套在一起,管与管之间紧密包裹,形成螺旋线状,桶口卷边直径较小时,可以卷成实心状。
4、按照权利要求1所述的封闭箍式卷边型封闭器
其特征在于:所述的卷边型封闭器箍1安装前外形为倒U形开放式整体环状卷,其包边24周围冲有应力改变孔20,拆卸工艺孔21,开启刻痕线19,拆卸口14,当卷边型封闭器箍安装夹紧后,倒U形改变成P形结构。
5、按照权利要求1所述的封闭箍式卷边型封闭器
其特征在于:所述的卷边型封闭器箍安装夹紧后为整体结构,当需要取下闭口锥形钢桶桶顶盖时,可用工具插入卷边型封闭器箍折卸口14内,逆时针旋转,包边24从开启刻痕线19的位置断开,即可打开卷边型封闭器箍,取下桶顶盖。
6、一种封闭箍式卷边型封闭器的密封方法
其特征在于:封闭箍式卷边型封闭器借助桶顶盖3、凸缘12上的大圆弧槽17与桶口卷边13定位后在卷边型封闭器箍的夹紧作用下,使小圆弧槽15与桶口卷边13之间形成一个固定密封槽空间16、O形卷11利用进入密封槽时受到压缩产生的回弹力和桶内介质压力完成密封和自封作用。
7、一种封闭箍式卷边型封闭器的夹紧方法
其特征在于:卷边型封闭器箍依靠夹紧机产生的向心挤压力,使卷边型封闭器箍包边24整体产生绕桶口卷边13顺时针旋转的向心塑性变形和冷作应力,紧密包裹桶顶盖3的凸缘12和桶口卷边13,包边24在塑性向心变形时直径由大变小,表面积折皱收缩,板材厚度增加,卷边型封闭器箍的几何形状由挤压前的倒U形变成P形,使桶顶盖3与桶身牢固的连接在一起,成为整体。
8、一种桶口多重卷边的制造方法
其特征在于:多重管状卷边采用不同曲率的卷边滚轮制造螺旋线管,其方法是:先由曲率大的卷边滚轮预卷出符合内部卷管尺寸的管段,再由曲率小的卷边滚轮依次卷制中间管段,外层管段内径略小于内层管段外径,使外层管段包紧内层管段,最后一道卷边滚轮整形定尺。
9、一种封闭箍式卷边型封闭器的制造方式
其特征在于:整体环状卷边型封闭器箍采用条料生产,先在条料平面上冲压应力改变孔20,拆卸工艺孔21,压印刻痕线19,然后卷圆缝焊成圆卷形,在冲床上向内挤压卷曲成U形整体环状,最后用冲床挤压凸台22,获得拆卸口14。
说明书
封闭箍式卷边型封闭器、其密封、夹紧以及制造方法。
1、技术领域
本发明涉及一种用于包装领域、钢制包装容器,可拆卸桶顶盖的闭口锥形钢桶封闭箍式卷边型封闭器。该封闭器使闭口锥形钢桶桶顶盖能从桶身上取下来,使闭口锥形钢桶转换为全开口锥形钢桶。本发明还涉及封闭器的密封方法、夹紧方法,以及桶口多重卷边和卷边型封闭器箍的制造方法。
2、背景技术
200升(英制216.5升)闭口圆柱形钢桶是世界上使用最广泛的钢制包装容器,它的桶顶盖上有TM60(英制G2)注入口和TM27(英制G3/4)透气口。国际钢桶标准ISO 15750-2:2002称这种钢桶为不可拆卸桶顶盖的桶,又称为紧口桶。
全世界每年使用的钢桶有一半是经过清洗,修复后重新使用的再生桶,由于闭口钢桶注入口、透气口很小,清洗、修复很不方便,近年来由于石油短缺,钢桶回收运输费用不断上涨,严重威胁再生桶产业生存和发展。
美国专利说明书US 5.201.437在1993年4月13日公开了一种圆锥形全开口钢桶制造方法,发明的优点在于空桶在贮存和运输时,可以把桶顶盖取下来,桶身互相承插堆码,占用空间小,与圆柱形全开口钢桶相比可节省70%的运输费用。由于闭口圆柱形钢桶桶顶盖无法取下来,它们不能从这项发明中得到益处。
3、发明内容
本发明所要解决的技术问题是在上述圆锥形全开口钢桶基础上,提供一种可拆卸桶顶盖的封闭箍式卷边型封闭器,将闭口圆柱形钢桶改造成可拆卸桶顶盖的闭口锥形钢桶,使闭口圆锥形钢桶和全开口锥形钢桶一样便于清洗修复、长途运输,本发明还公开了封闭箍式卷边型封闭器密封方法,夹紧方法和桶口卷边,卷边型封闭器箍制造方法,为了解决上述技术问题,本发明利用O形圈密封和自封原理,通过在桶顶盖的凸缘上压出二条不同半径重叠组成的圆弧槽,再将桶口改成多重管状卷边,当卷边型封闭器箍夹紧后,桶顶盖圆弧槽与桶口卷边之间形成一个固定的密封槽空间,O形卷弹性体利用进入固定密封槽空间时受到压缩产生的回弹力,将桶顶盖小圆弧槽和桶口卷边微小不平处填满,形成一条密封阻隔带,由于密封槽空间固定,压缩量精确,O形卷弹性体保持稳定的追随形变能力,当闭口圆锥形钢桶在运输过程中桶口受到碰撞和跌落,产生变形,出现空隙时,O形圈弹性体借助自身良好的追随形变能力,迅速向空隙处移动,并填满空隙,使空隙在第一时间内消失,有效阻止桶内液体渗漏。当闭口锥形钢桶受到阳光照射或环境温度升高时,桶内化学物质在温度作用下产生蒸汽压,这种介质压力将使O形卷在密封槽内向作用力方向移动,并改变其断面形状,同时密封面上的接触压力也发生变化,接触压力在正常情况下始终大于介质压力,这种借助桶内介质压力来改变O形圈接触状态,使其实现密封的过程,是O形圈特有的“自封作用”。
为了解决传统杠杆式封闭箍和螺栓型封闭箍弹性拉紧法不能可靠夹紧桶顶盖的技术问题,本发明公开一种刚性夹紧方法,它的夹紧原理是依靠夹紧机提供的挤压力,使卷边型封闭器箍包边整体产生绕桶口卷边顺时针旋转的向心塑性卷曲,紧密包裹桶顶盖的凸缘和桶口卷边。包边在塑性卷曲变形时直径由大变小,表面积折皱收缩,使板材变厚,卷边型封闭器箍的几何形状由挤压前的倒U形变成P形,把桶顶盖凸缘和桶口卷边包在其中,使其牢固的联接在一起,成为整体。由于卷边型封闭器包裹接触面大,包边卷曲收缩后厚度大于原有板 材厚度,加上钢板冷加工时内部产生的冷作应力使卷边型封闭器箍强度很大,即使桶口因碰撞跌落,卷边型封闭器箍也能伴随桶口变形,保持紧密包裹状态。
当卷边型封闭器箍完成密封使命后,需要取下桶顶盖时,可用工具插入卷边封闭器的周边拆卸口14内,逆时针旋转,包边从开启刻痕线的位置断开,即可打开卷边型封闭器筛取下桶顶盖。
为了提高桶口卷边强度,防止桶口卷边在夹紧时变形,本发明桶口多重管状卷边采用多曲率卷曲方法制造螺旋线管,方法是先由曲率大的卷边滚轮预卷出附合内部卷管尺寸的管段,再由曲率小的卷边滚轮依次卷制各中间管段,外层管段内径略小于内层管段外径,使外层管段包紧内层管段,最后一道滚轮整形后固定多重卷管外径。
为了节省材料,卷边型封闭器箍采用条料制造,首先在条料平面上冲压应力改变孔、拆卸工艺孔、压印刻痕线,在卷圆机上成圆,经缝焊机焊接成整体圆卷,用冲床将圆卷向内挤压弯曲成U形整体圆环,最后用冲床挤压凸台获得拆卸口。
4、附图说明
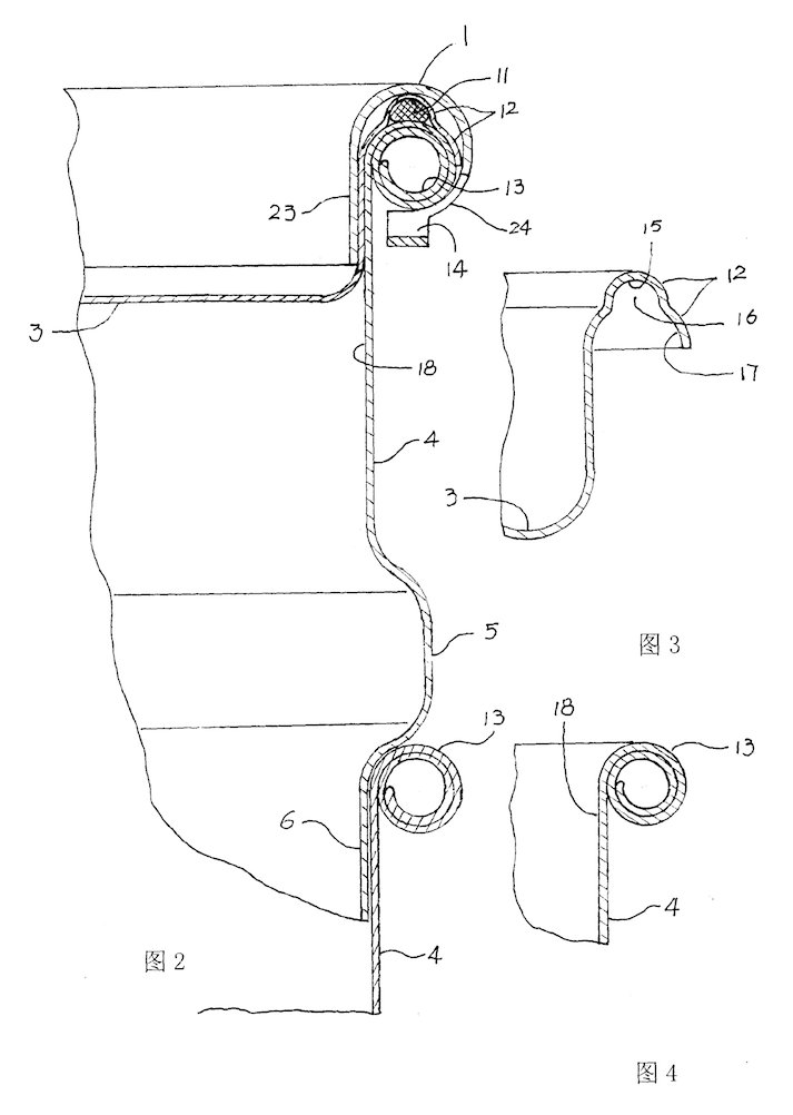
图1,是闭口圆锥形钢桶主视图和局部剖面图,锥形桶身7上有一个带有注入口的可拆卸桶顶盖和封闭箍式卷边型封闭器1、下部是桶身8和桶底10采用卷边接缝方法永久联接的凸边9。

图2,是闭口圆锥形钢桶封闭箍式卷边型封闭器和桶身承插堆码局部剖面图,图中可见桶顶盖凸缘12,O形圈11,桶口多重卷边13在卷边型封闭器箍夹紧时的密封状态,和圆锥形桶身在加强筋凸台5作为定位时的承插堆码情形。
图3,是可拆卸桶顶盖凸缘12的局部剖面图,图中可见小圆弧槽15,和大圆弧槽17重叠后形成的密封槽空间16。
图4是,是桶口卷边结构局部剖面图。

图5是,封闭箍式卷边型封闭器安装前整体主视图。

图6是,封闭箍式卷边型封闭器安装前整体顶视图。

图7是,封闭箍式卷边型封闭器安装前局部顶视图。

图8是,封闭箍式卷边型封闭器安装前局部主视图。

图9是,封闭箍式卷边型封闭器安装前应力改变孔20和拆卸刻痕线19剖面图。

图10是,封闭箍式卷边型封闭器安装前拆卸工艺孔21和拆卸口14剖面图

5、具体实施方式
图1是可拆卸桶顶盖的200升闭口圆锥形钢桶7。它安装一只整体环状封闭箍式卷边型封闭器,闭口圆锥形钢桶与闭口圆柱形钢桶在使用上完全一样,只有在空桶运输和旧桶清洗修复时。才需用工具插入拆卸口14,逆时针旋转,打开封闭器取下桶顶盖3。把它作为全开口锥形钢桶运输和清洗修复,它的圆柱形桶身4,加强筋5,圆锥形桶体6和桶体下部8,桶底10和凸边9的作用和结构都是公知的这里不再叙述。
从图2和图3,可以看到桶顶盖3的凸缘12由两个半径不同的圆弧槽重叠组成,当凸缘12与桶口卷边13在卷边型封闭器箍1的直边23和包边24的夹紧作用下,小圆弧槽15形成一个固定密封槽空间16,O形卷11在这个密封槽空间16内被挤压志馒头形,此时O形卷11利用进入密封槽空间16时受到的压缩产生的回弹力将小圆弧槽15和卷边13上微小不平处填满,并形成一条密封带,阻止桶内液体渗漏出去。
200升闭口锥形钢桶卷边型封闭器外径为585,桶口18内径为560-2.0毫米,外部桶高1020毫米,加强筋5外径为572毫米,闭口锥形钢桶为了能重复使用3-4次,桶壁板材厚度最好保持在1.2毫米,闭口锥形钢桶卷边密封器的发明就是为了减少一次性钢桶生产,促进钢桶循环使用。
在图3中,桶顶盖3的凸缘12由大小两个不同半径的圆弧槽重叠组成,大圆孤槽17必须是圆弧形,半径为5.5.毫米,深度不应超过5毫米。小圆弧槽15的半径为2.5毫米,深度不超过3.0毫米,小圆弧槽可以是距形,两个圆孤槽过渡处应是圆角,R为0.5毫米,圆孤槽15和17环形中心线直径为570毫米,与桶口卷边13的环形中心线相同,当桶顶盖3的凸缘12与桶口卷边13合在一起,在大圆弧17的定位作用下,小圆弧槽15就在桶口卷边13之间形成一个固定密封空间16。
在图4中,桶口卷边在圆柱形桶体4的桶口18位置上被卷边机卷成多重圆管状卷边13,卷管在二层以上,桶口18的内径是560-2.0毫米,桶口卷边直径为10毫米,截面为多重空心管状。管与管之间紧密包裹,形成螺旋线状,桶口卷边直径较小时也可以卷成实心状,使桶口卷边13在卷边型封闭器夹紧时不发生变形。
图5是,封闭箍式卷边型封闭器安装前整体主视图,封闭器上布置有应力改变孔20,开启刻痕线19,工艺孔21和凸台22。
图6是,封闭箍式卷边型封闭器安装前整体顶视图,包边24上均布30只,凸台22。
图7是封闭箍式卷边型封闭器安装前局部顶视图,包边24上冲有凸台22其内是距形拆卸口14,它的长度是18毫米,宽度为4.0毫米,槽口过渡处均为圆角,R为1.0毫米,开启刻痕线19分布在包边24的两边同一位置上。
图8是封闭箍式卷边型封闭器安装前局部主视图,工艺孔21宽度为6.0毫米,长度为25毫米,圆孤半径为3.0毫米,凸台22两边压印对称的开启刻痕线19,刻痕线的间距为50-70毫米,最好是60毫米,刻痕线高10毫米,应力改变孔直径为4.0毫米。
图9是封闭箍式卷边型封闭器安装前应力改变孔和开启刻痕线的剖面图,包边24的板厚为1.5毫米~2.0毫米。包边24的板厚取决于桶内盛装物的比重。比重大的选大值,比重小的选小值。开启刻痕线深0.2毫米-0.4毫米。刻痕线深度选择同样取决于桶内盛装物的比重,比重大的选小值,比重小的选大值,刻痕线19与应力改变孔相通,刻痕线19截面为V形,刻痕线应根据材质调整深度。保证卷边型封闭器在受到碰撞和跌落后,刻痕线不裂开,只有当拆卸口14插入工具。逆时针旋转时才能使包边刻痕线断开。从图中看到直边23和包边24呈倒U形开口状,U形内圆孤半径为6.5毫米,直边23高20毫米,包边24高23毫米,卷边型封闭器顶部也可做成大小圆孤重叠形与桶顶盖3的凸缘12形状相配合,保护桶顶盖凸缘小圆孤槽15不易变形。
图10是封闭箍式卷边型封闭器安装前拆卸口14的剖面图。包边24上面是工艺孔21,下面是凸台22,凸台高6.0毫米,它从包边24向外凸起,形成一个长18毫米,宽4.0毫米的拆卸口14。拆卸口14供放置拆卸工具,打开卷边型封闭器时使用。
本发明不限于上述闭口圆锥形钢桶,还可用于闭口圆柱形钢桶,全开口缩颈钢桶,本发明用于全开口锥形钢桶时,不仅具有防渗漏功能,还可起到防拆卸和防伪作用。只要在桶顶盖凸缘和桶口卷边之间设置或形成固定密封槽空间均属于本发明。