纽格润:智能环保回收桶生产线
文/杨柳
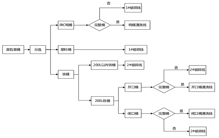
回收废旧钢桶拓展企业新业务空间,在经济发展、社会发展、生态环境等各个领域都具有重要价值。纽格润坚持旧桶优先回收、科学利用,坚持需求导向、技术引领和市场运作三项原则,为客户建立回收桶的价值评估体系,明确回收利用需求,对智能环保回收桶生产线进行科学、系统的整体性规划与开发,从而盘活废旧钢桶存量资源。

纽格润在公司新型高速立式制桶技术的优势基础上,联合欧美先进的回收桶生产线解决方案商探索出智能环保回收桶生产线解决方案,可为客户提供“闭口桶清洗线”和“开口桶焚烧线”智慧钢桶回收解决方案。

闭口桶清洗线智慧钢桶回收解决方案
纽格润与意大利C.E.B. IMPIANTI s.r.l.公司展开闭口桶清洗线技术合作,采用多种专业溶剂,可以对化工、石化、油漆、油墨、树脂、农产品、化妆品、环保等多行业的工业容器(钢桶)提供专业的设计和制造洗涤系统。

闭口桶清洗线智慧钢桶回收解决方案采用“双工位”生产节奏,可以同步进行桶身内部清洗和外部清洗,经烘干处理后,再进一步进行密封性检测,从而确保每一只经过清洗处理的桶都可以达到质量标准。



闭口桶清洗线工艺路线一

闭口桶清洗线工艺路线二

开口桶焚烧线智慧钢桶回收解决方案
以公司新型高速立式制桶技术为基础,纽格润研发出开口桶焚烧线智慧钢桶回收解决方案,该解决方案由热处理室、水喷雾系统、补充燃烧处理室、烟囱和电气控制板等部分构成,可根据工厂的实际运营特色与需求,进行个性化调整。

开口桶焚烧全过程都是在低温环境(最高450°C)下进行,从而避免了发生任何热应变的可能。同时,开口桶焚烧线配备了由微处理器PLC管理的温度调节控制中心和烟道气处理系统,更为绿色安全环保。


部分开口桶焚烧线生产场景展示

热处理室

补充燃烧处理室