【专利介绍】一种钢桶回收用整形装置
文/邹雅丽
申请号:202221845102 .X
申请日:2022 .07 .18
专利权人:荆州市先隆包装制品有限公司
发明人:王海、邹雅丽、邹乐新、胡文明、邹雅俊、覃方
【摘要】
本实用新型公开了一种钢桶回收用整形装置,包括钢桶,钢桶的口部外沿套设有固定环,固定环的底侧边缘处连接有与钢桶相抵触的安装座,安装座上设置有辅助检测机构;辅助检测机构包括安装在安装座底部的推动气缸,推动气缸的输出端连接有水袋,水袋内装有水,水袋为透明结构,且水袋的外侧沿高度方向标记有刻度线,水袋朝向钢桶的一侧安装有竖板,竖板的表面等间距开设有至少一个横槽,横槽内设有与水袋相连接的抵杆,抵杆的前端安装有凸出横槽的挤压弹簧,本实用新型在使用的时候,进而快速找出钢桶口部外侧凸出部位,对该部位进行整形,满足钢桶口部快速寻找出变形问题的需求。

【权利要求书】
1 .一种钢桶回收用整形装置,包括钢桶(1),其特征在于:所述钢桶(1)的口部外沿套设有固定环(2),所述固定环(2)的底侧边缘处连接有与钢桶(1)相抵触的安装座(3),所述安装座(3)上设置有辅助检测机构;所述辅助检测机构包括安装在安装座(3)底部的推动气缸(10),所述推动气缸(10)的输出端连接有水袋(4),所述水袋(4)内装有水,所述水袋(4)为透明结构,且水袋(4)的外侧沿高度方向标记有刻度线(5),所述水袋(4)朝向钢桶(1)的一侧安装有竖板(6),所述竖板(6)的表面等间距开设有至少一个横槽(7),所述横槽(7)内设有与水袋(4)相连接的抵杆(8),所述抵杆(8)的前端安装有凸出横槽(7)的挤压弹簧(9)。
2 .根据权利要求1所述的一种钢桶回收用整形装置,其特征在于:所述安装座(3)的底侧开设有滑槽(12),所述水袋(4)的顶部固定连接有滑动连接于滑槽(12)内的滑块(11)。
3 .根据权利要求1所述的一种钢桶回收用整形装置,其特征在于:所述水袋(4)的底部安装有沉重块(13),所述沉重块(13)采用挤塑材料一体成型。
4 .根据权利要求1所述的一种钢桶回收用整形装置,其特征在于:所述水袋(4)采用透明硅胶材质,且透明硅胶的厚度为1‑1 .5mm。
【说明书】
1、技术领域
本实用新型涉及钢桶整形装置技术领域,具体为一种钢桶回收用整形装置。
2、背景技术
钢桶是传统容器之一,在传统容器中占有很重要的地位。钢桶从暂时贮存内装物品的机能演变到今天的工业包装、销售包装、运输包装等;从生产到流通、消费形成一贯流动容器,成了长期保存内装物品的手段,可以说钢桶给人类的工作和生活带来了很大的变革和进步。
现有技术中,回收废弃钢桶时,需要对钢桶的口部变形处进行整形时,通过挤压轮对凹陷部位进行挤压,但挤压时桶外部未设置辅助检测机构,需要人肉眼观察,观察比较吃力且易带来检测结果不准确,为此,我们提出一种钢桶回收用整形装置用以解决上述问题。
3、实用新型内容
本实用新型的目的在于针对现有技术的不足之处,提供一种钢桶回收用整形装置为实现上述目的。
本实用新型提供如下技术方案:一种钢桶回收用整形装置,包括钢桶,所述钢桶的口部外沿套设有固定环,所述固定环的底侧边缘处连接有与钢桶相抵触的安装座,所述安装座上设置有辅助检测机构;所述辅助检测机构包括安装在安装座底部的推动气缸,所述推动气缸的输出端连接有水袋,所述水袋内装有水,所述水袋为透明结构,且水袋的外侧沿高度方向标记有刻度线,所述水袋朝向钢桶的一侧安装有竖板,所述竖板的表面等间距开设有至少一个横槽,所述横槽内设有与水袋相连接的抵杆,所述抵杆的前端安装有凸出横槽的挤压弹簧。优选的,所述安装座的底侧开设有滑槽,所述水袋的顶部固定连接有滑动连接于滑槽内的滑块。优选的,所述水袋的底部安装有沉重块,所述沉重块采用挤塑材料一体成型。优选的,所述水袋采用透明硅胶材质,且透明硅胶的厚度为1‑1 .5mm。
与现有技术相比,本实用新型的有益效果是:
(1)当人员需要对钢桶口部整形时,通过固定环将安装座安装在钢桶上,驱动推动气缸,推动气缸推动水袋,水袋带动竖板向钢桶靠近,竖板带动挤压弹簧与钢桶相抵触,当钢桶表面有凸起,凸起推动挤压弹簧,挤压弹簧形变挤压抵杆,抵杆抵住水袋,水袋受压则水袋内的水升高,通过刻度线直观的观察到水位上升,进而快速找出钢桶口部外侧凸出部位,对该部位进行整形,满足钢桶口部快速寻找出变形问题的需求;
(2)滑块带动水袋在滑槽内滑动,使得水袋平稳移动,减少水袋在移动过程中晃动所带来水晃动,进而带来检测结果不准确的可能。
4、附图说明
图1为本实用新型结构示意图;

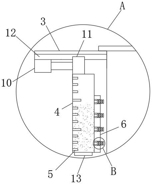
图2为本实用新型图1中A部放大结构示意图;

图3为本实用新型图2中B部放大结构示意图。

图中:1、钢桶;2、固定环;3、安装座;4、水袋;5、刻度线;6、竖板;7、横槽;8、抵杆;9、挤压弹簧;10、推动气缸;11、滑块;12、滑槽;13、沉重块。
5、具体实施方式
下面将结合本实用新型实施例中的附图,对本实用新型实施例中的技术方案进行清楚、完整地描述,显然,所描述的实施例仅仅是本实用新型一部分实施例,而不是全部的实施例。基于本实用新型中的实施例,本领域普通技术人员在没有做出创造性劳动前提下所获得的所有其他实施例,都属于本实用新型保护的范围。请
参阅图1‑3,本实用新型提供一种技术方案:一种钢桶回收用整形装置,在本实用新型中,包括钢桶1,钢桶1的口部外沿套接有固定环2,固定环2的直径适配于钢桶1的直径,且固定环2采用具有弹性的橡胶圈,通过固定环2将安装座3安装在钢桶1上,固定环2的底侧边缘处固定连接有与钢桶1相抵触的安装座3,安装座3上设置有辅助检测机构,辅助检测机构用于检测钢桶1口部外表面的平整度;
辅助检测机构包括安装在安装座3底部的推动气缸10,推动气缸10的输出端安装有水袋4,水袋4内装有水,水袋4为透明结构,且水袋4的外侧沿高度方向标记有刻度线5,水袋4朝向钢桶1的一侧安装有竖板6,竖板6的表面等间距开设有至少一个横槽7,横槽7沿宽度方向的内壁上安装有与水袋4相连接的抵杆8,抵杆8的前端安装有凸出横槽7的挤压弹簧9;
在使用的时候,驱动推动气缸10,推动气缸10推动水袋4,通过推动气缸10调节水袋4与钢桶1之间的间距,满足不同厚度的钢桶1检测需求,水袋4带动竖板6向钢桶1靠近,竖板6带动挤压弹簧9与钢桶1相抵触,当钢桶1表面有凸起,凸起推动挤压弹簧9,挤压弹簧9形 变挤压抵杆8,抵杆8抵住水袋4,水袋4受压则水袋4内的水升高,通过刻度线5直观的观察到水位上升,进而快速找出钢桶1口部外侧凸出部位,对该部位进行整形,满足钢桶1口部快速寻找出变形问题的需求。
作为本实用新型的一种技术优化方案,安装座3的底侧开设有滑槽12,水袋4的顶部固定连接有滑动连接于滑槽12内的滑块,滑块带动水袋4在滑槽12内滑动,使得水袋4平稳移动,减少水袋4在移动过程中晃动所带来水晃动,进而带来检测结果不准确的可能。作为本实用新型的一种技术优化方案,水袋4的底部安装有沉重块13,沉重块13采用挤塑材料一体成型,沉重块13使得水袋4更为垂直的放置,避免水袋4局部邹起而影响检测结果。
作为本实用新型的一种技术优化方案,水袋4采用透明硅胶材质,且透明硅胶的厚度为1‑1 .5mm,硅胶透明材质,使得水袋4更容易被挤压变形,进而水位上升更为明显,检测结果更为准确。
工作原理:当人员需要对钢桶1口部整形时,通过固定环2将安装座3安装在钢桶1上,驱动推动气缸10,推动气缸10推动水袋4,水袋4带动竖板6向钢桶1靠近,竖板6带动挤压弹簧9与钢桶1相抵触,当钢桶1表面有凸起,凸起推动挤压弹簧9,挤压弹簧9形变挤压抵杆8,抵杆8抵住水袋4,水袋4受压则水袋4内的水升高,通过刻度线5直观的观察到水位上升,进而快速找出钢桶1口部外侧凸出部位,对该部位进行整形,满足钢桶1口部快速寻找出变形问题的需求。
尽管已经示出和描述了本实用新型的实施例,对于本领域的普通技术人员而言,可以理解在不脱离本实用新型的原理和精神的情况下可以对这些实施例进行多种变化、修改、替换和变型,本实用新型的范围由所附权利要求及其等同物限定。