【专利介绍】一种高效型钢桶洗桶装置
文/董立刚
申请号:202220221861 .2
申请日:2022 .01 .27
公告号:CN 216679445 U
公告日:2022.06.07
专利权人:香河昆仑新能源材料股份有限公司
发明人:董立刚、石松、孟宪春、刘闯
【摘要】
本实用新型公开了一种高效型钢桶洗桶装置,涉及洗桶装置技术领域,包括安装框体,所述安装框体内底部固定连接有固定圆盘,所述固定圆盘上表面滑动安装有U型架,所述安装框体顶部连接有用于驱动U型架转动的驱动机构;所述U型架内侧壁固定连接有呈U型设置的安装架,所述固定圆盘上方设有用于夹持钢桶的两个弧形夹板。本实用新型通过安装框体、固定圆盘、U型架、驱动机构、弧形夹板、安装架和调节机构之间的相互配合,利用调节机构带动弧形夹板移动可将位于U型架内的钢桶夹持,而后驱动机构可带动钢桶和U型架整体转动,达到自动清洗钢桶内壁的目的,设计灵活,可节省人力,降低劳动强度。

【权利要求书】
1 .一种高效型钢桶洗桶装置,包括安装框体,其特征在于:所述安装框体内底部固定连接有固定圆盘,所述固定圆盘上表面滑动安装有U型架,所述安装框体顶部连接有用于驱动U型架转动的驱动机构;所述U型架内侧壁固定连接有呈U型设置的安装架,所述固定圆盘上方设有用于夹持钢桶的两个弧形夹板,所述弧形夹板靠近安装架的一端固定连接有活动板,所述安装架侧壁连接有用于调整两个活动板前后位置的调节机构;所述安装框体外侧壁固定连接有储液箱和泵体,所述泵体进液口通过进液管与储液箱连接,所述泵体出液口连接有出液软管。
2 .根据权利要求1所述的一种高效型钢桶洗桶装置,其特征在于:所述U型架底部固定连接有移动滑块,所述固定圆盘上表面开设有与移动滑块相适配的环形槽,所述移动滑块滑动连接在环形槽内侧壁上。
3 .根据权利要求1所述的一种高效型钢桶洗桶装置,其特征在于:所述驱动机构包括固定连接在安装框体顶部的驱动电机,所述驱动电机输出端固定连接有驱动轴,所述驱动轴底部贯穿安装框体并与U型架顶部固定连接。
4 .根据权利要求1所述的一种高效型钢桶洗桶装置,其特征在于:所述U型架顶部内壁固定连接有伸缩气缸,所述伸缩气缸活塞端朝下且固定连接有压板,所述压板下表面固定连接有第一橡胶垫。
5 .根据权利要求1所述的一种高效型钢桶洗桶装置,其特征在于:两个所述弧形夹板相对一侧内壁均固定连接有第二橡胶垫。
6 .根据权利要求1所述的一种高效型钢桶洗桶装置,其特征在于:所述调节机构包括转动连接在安装架内侧壁的螺纹杆,两个所述活动板均螺纹套接在螺纹杆外表面,所述螺纹杆其中一端贯穿安装架并固定连接有转轮,所述安装架内侧壁固定连接有限位杆,两个所述活动板均滑动套接在限位杆上。
7 .根据权利要求1所述的一种高效型钢桶洗桶装置,其特征在于:所述安装框体顶部内壁固定连接有收纳挂钩,所述出液软管缠绕挂设在收纳挂钩上。
【说明书】
1、技术领域
本实用新型涉及洗桶装置技术领域,尤其涉及一种高效型钢桶洗桶装置。
2、背景技术
钢桶即利用钢材料制成的桶体,现有的钢桶常为单层立式结构,也可根据工艺要求增加夹套、保温结构,具有易清洗、不易沾污垢,安全环保等优点而被广泛应用于物料存储等领域。其中,在电解液生产过程中常需要用到200L钢桶,在清洗此类钢桶时常需要两人配合,滚动钢桶对其内壁进行清洗,清洗效率低且易存在清理死角,返工概率高,同时手动清洗的人力成本高,劳动强度大,无法满足现代生产需求。
3、实用新型内容
本实用新型的目的是为了解决现有技术中的钢桶需要两人配合手动清洗,清洗效率低,易存在清洗不到的死角,同时清洗时人力成本高,劳动强度大的问题,而提出的一种高效型钢桶洗桶装置。
为了实现上述目的,本实用新型采用了如下技术方案:一种高效型钢桶洗桶装置,包括安装框体,所述安装框体内底部固定连接有固定圆盘,所述固定圆盘上表面滑动安装有U型架,所述安装框体顶部连接有用于驱动U型架转动的驱动机构;所述U型架内侧壁固定连接有呈U型设置的安装架,所述固定圆盘上方设有用于夹持钢桶的两个弧形夹板,所述弧形夹板靠近安装架的一端固定连接有活动板,所述安装架侧壁连接有用于调整两个活动板前后位置的调节机构;所述安装框体外侧壁固定连接有储液箱和泵体,所述泵体进液口通过进液管与储液箱连接,所述泵体出液口连接有出液软管。
为了保证U型架转动时的稳定性,所述U型架底部固定连接有移动滑块,所述固定圆盘上表面开设有与移动滑块相适配的环形槽,所述移动滑块滑动连接在环形槽内侧壁上。
为了实现U型架的自行转动,所述驱动机构包括固定连接在安装框体顶部的驱动电机,所述驱动电机输出端固定连接有驱动轴,所述驱动轴底部贯穿安装框体并与U型架顶部固定连接。
为了避免钢桶在转动时偏移,所述U型架顶部内壁固定连接有伸缩气缸,所述伸缩气缸活塞端朝下且固定连接有压板,所述压板下表面固定连接有第一橡胶垫。
为了避免弧形夹板对钢桶的外桶壁造成损伤,两个所述弧形夹板相对一侧内壁均固定连接有第二橡胶垫。
为了便于同步调整两个活动板的相对位置,所述调节机构包括转动连接在安装架内侧壁的螺纹杆,两个所述活动板均螺纹套接在螺纹杆外表面,所述螺纹杆其中一端贯穿安装架并固定连接有转轮,所述安装架内侧壁固定连接有限位杆,两个所述活动板均滑动套接在限位杆上。
为了保证出液软管不用时的整齐收纳,所述安装框体顶部内壁固定连接有收纳挂钩,所述出液软管缠绕挂设在收纳挂钩上。
本实用新型具有如下有益效果:
(1)与现有技术相比,该高效型钢桶洗桶装置,通过安装框体、固定圆盘、U型架、驱动机构、弧形夹板、安装架和调节机构之间的相互配合,利用调节机构带动弧形夹板移动可将位于U型架内的钢桶夹持,而后驱动机构可带动钢桶和U型架整体转动,达到自动清洗钢桶内壁的目的,设计灵活,可节省人力,降低劳动强度,同时清洗效率高,也可减少清理不到位的问题出现。
(2)与现有技术相比,该高效型钢桶洗桶装置,通过安装框体、泵体、储液箱、进液管和出液软管之间的相互配合,利用泵体可将储液箱内的洗桶溶剂抽至钢桶内,无需人工手动添加,进一步降低了人力成本,减轻人力劳动负担。
4、附图说明
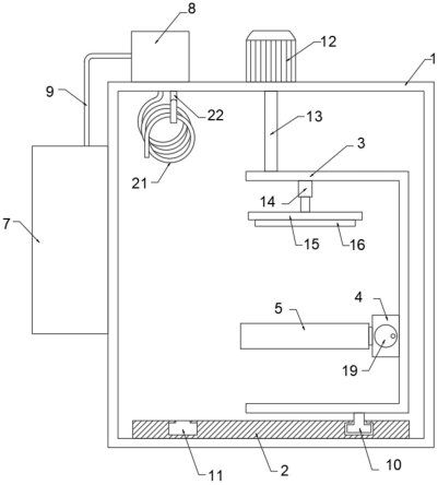
图1为本实用新型提出的一种高效型钢桶洗桶装置的结构示意图;

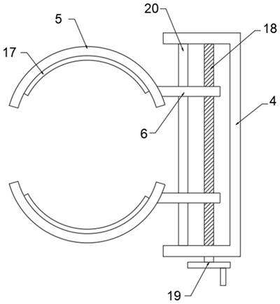
图2为本实用新型提出的一种高效型钢桶洗桶装置中安装架、弧形夹板与调节机构的连接结构示意图;

图3为本实用新型提出的一种高效型钢桶洗桶装置中固定圆盘的俯视图。

图例说明:1、安装框体;2、固定圆盘;3、U型架;4、安装架;5、弧形夹板;6、活动板;7、储液箱8、泵体;9、进液管;10、移动滑块;11、环形槽;12、驱动电机;13、驱动轴;14、伸缩气缸;15、压板;16、第一橡胶垫;17、第二橡胶垫;18、螺纹杆;19、转轮;20、限位杆;21、出液软管;22、收纳挂钩。
5、具体实施方式
下面将结合本实用新型实施例中的附图,对本实用新型实施例中的技术方案进行清楚、完整地描述,显然,所描述的实施例仅仅是本实用新型一部分实施例,而不是全部的实施例。基于本实用新型中的实施例,本领域普通技术人员在没有做出创造性劳动前提下所获得的所有其他实施例,都属于本实用新型保护的范围。
参照图1‑图3,本实用新型提供的一种高效型钢桶洗桶装置:包括安装框体1,安装框体1内底部固定连接有固定圆盘2,固定圆盘2上表面滑动安装有U型架3,U型架3底部固定连接有移动滑块10,固定圆盘2上表面开设有与移动滑块10相适配的环形槽11,移动滑块10滑动连接在环形槽11内侧壁上,这样可保证U型架3转动时的稳定。
其中,安装框体1顶部连接有用于驱动U型架3转动的驱动机构;驱动机构包括固定连接在安装框体1顶部的驱动电机12,驱动电机12输出端固定连接有驱动轴13,驱动轴13底部贯穿安装框体1并与U型架3顶部固定连接。
进一步地,U型架3顶部内壁固定连接有伸缩气缸14,伸缩气缸14活塞端朝下且固定连接有压板15,压板15下表面固定连接有第一橡胶垫16,利用伸缩气缸14带动压板15和第一橡胶垫16将钢桶抵紧,防止不锈钢桶在转动时偏移。
其中,U型架3内侧壁固定连接有呈U型设置的安装架4,固定圆盘2上方设有用于夹持钢桶的两个弧形夹板5,两个弧形夹板5相对一侧内壁均固定连接有第二橡胶垫17,利用第二橡胶垫17可防止弧形夹板5在钢桶外壁上造成划痕,弧形夹板5靠近安装架4的一端固定连接有活动板6,安装架4侧壁连接有用于调整两个活动板6前后位置的调节机构;调节机构包括转动连接在安装架4内侧壁的螺纹杆18,两个活动板6均螺纹套接在螺纹杆18外表面,螺纹杆18其中一端贯穿安装架4并固定连接有转轮19,安装架4内侧壁固定连接有限位杆20,两个活动板6均滑动套接在限位杆20上,利用限位杆20可对活动板6的移动进行限位,防止活动板6转动。
其中,安装框体1外侧壁固定连接有储液箱7和泵体8,泵体8进液口通过进液管9与储液箱7连接,泵体8出液口连接有出液软管21,安装框体1顶部内壁固定连接有收纳挂钩22,出液软管21缠绕挂设在收纳挂钩22上,工作人员将出液软管21理齐后可将出液软管21卡设在收纳挂钩22上,保证出液软管21的整洁。
本实用新型可通过以下操作方式阐述其功能原理:
使用时将不锈钢桶置于U型架3内侧,将出液软管21端部移动至钢桶内,启动泵体8,泵体8将储液箱7内的洗桶溶剂经进液管9和出液软管21抽至钢桶体内,同时可转动转轮19,转轮19带动螺纹杆18转动,此时两个活动板6带动两个弧形夹板5将钢桶夹持,待洗桶溶剂添加完毕后,关闭泵体8,将出液软管21抽出,再启动伸缩气缸14带动压板15与第一橡胶垫16下移,直至第一橡胶垫16将钢桶顶部抵紧。
启动驱动电机12,驱动电机12通过驱动轴13带动U型架3整体转动,此时钢桶开始转动,其内部的洗桶溶剂开始对钢桶内壁进行清洗,清洗结束后,关闭驱动电机12,启动伸缩气缸14拉动第一橡胶垫16与钢桶分离,再反向转动转轮19,转轮19带动螺纹杆18反转,弧形夹板5与钢桶分离,将钢桶从U型架3上取下,再将另一个待清洗的钢桶放至U型架3内,重复以上步骤,开始下一次清洗工作,这样可实现流水式的钢桶清洗作业,设计灵活,操作简单,实用性强。
最后应说明的是:以上所述仅为本实用新型的优选实施例而已,并不用于限制本实用新型,尽管参照前述实施例对本实用新型进行了详细的说明,对于本领域的技术人员来说,其依然可以对前述各实施例所记载的技术方案进行修改,或者对其中部分技术特征进行等同替换,凡在本实用新型的精神和原则之内,所作的任何修改、等同替换、改进等,均应包含在本实用新型的保护范围之内。