【专利介绍】一种钢桶翻新处理装置
文/范昇,成辉
申请号:202220508550 .4
申请日:2022 .03 .09
专利权人:博瑞(江苏)环保设备有限公司
发明人:范昇、成辉
专利号:CN 216991311 U
【摘要】
本申请涉及钢桶翻新技术领域,尤其涉及一种钢桶翻新处理装置,其包括桶内壁翻新处理机构、加温机构、桶升降机构、卡桶机构、卡具移位驱动机构和位于所述桶内壁翻新处理机构和所述桶升降机构之间的拨桶机构,所述卡具移位驱动机构包括卡具移位拖车,所述卡桶机构安装在所述卡具移位拖车上,所述拨桶机构包括与所述桶升降机构顶面铰接的拨板、驱动所述拨板朝向所述桶升降机构转动的驱动组件,所述拨板朝向所述桶升降机构的一侧壁与所述钢桶桶口底部抵接。本申请具有卡桶机构卡紧钢桶,提高生产效率的效果。

【专利要求书】
1、一种钢桶翻新处理装置,包括桶内壁翻新处理机构(1)、加温机构(2)、桶升降机构(3)、卡桶机构(4)、卡具移位驱动机构(5)和位于所述桶内壁翻新处理机构(1)和所述桶升降机构(3)之间的拨桶机构(6),所述卡具移位驱动机构(5)包括卡具移位拖车,所述卡桶机构(4)安装在所述卡具移位拖车上,其特征在于,所述拨桶机构(6)包括与所述桶升降机构(3)顶面铰接的拨板(61)、驱动所述拨板(61)朝向所述桶升降机构(3)转动的驱动组件(62),所述拨板(61)朝向所述桶升降机构(3)的一侧壁与所述钢桶桶口底部抵接。
2、根据权利要求1所述的一种钢桶翻新处理装置,其特征在于,所述驱动组件(62)包括拨杆(621)、用于驱动所述拨杆(621)朝向或背离拨板(61)运动的空间凸轮(622)和用于驱动所述空间凸轮(622)转动的驱动件。
3、根据权利要求2所述的一种钢桶翻新处理装置,其特征在于,所述驱动件为转动电机(623),所述转动电机(623)的电机轴与所述空间凸轮(622)端部固定连接。
4、根据权利要求2所述的一种钢桶翻新处理装置,其特征在于,所述驱动组件(62)设置于所述拨板(61)侧壁中心处。
5、根据权利要求1所述的一种钢桶翻新处理装置,其特征在于,所述拨板(61)侧壁底部设置有用于转动后复位的扭簧(7)。
6、根据权利要求5所述的一种钢桶翻新处理装置,其特征在于,所述桶升降机构(3)一侧顶面设置有用于防止所述拨板(61)在转动复位时发生过转的挡板(8)。
7、根据权利要求1所述的一种钢桶翻新处理装置,其特征在于,所述翻新处理机构远离所述加温机构(2)的一侧设置有抛光处理机构(9)。
8、根据权利要求1所述的一种钢桶翻新处理装置,其特征在于,所述钢桶翻新处理装置还包括防尘罩(11)。
【说明书】
1、技术领域
本申请涉及钢桶翻新技术的领域,尤其是涉及一种钢桶翻新处理装置。
2、背景技术
化工生产企业进行生产时,往往用钢桶盛放产品,为了尽量减少浪费而满足环保的要求,需要循环使用钢桶。由于钢桶内盛放的产品多为石油、涂料等产品,较易对后续盛装产品产生污染,因此,需要对钢桶翻新后再利用。
目前的钢桶翻新过程中,多采用加温一体多工位设计,在内壁打磨处理工位和加温工位安装卡具,使卡具卡紧桶体进行翻新操作。
正常使用时,需要桶体正对卡具,使钢桶的桶底边缘部分被卡具卡紧,进行固定;当卡具固定钢桶桶底时,钢桶桶口处缺少与卡具相配合的作用力,从而使钢桶易移动或歪斜,进而使卡具出现卡桶误差,导致卡接松动。当松动的钢桶进入到内壁打磨工位后,钢刷进入桶中进行打磨,容易将筒打飞,影响生产的顺利进行,降低生产效率。
3、实用新型内容
为了使卡具准确卡紧钢桶,本申请提供一种钢桶翻新处理装置。
本申请提供的一种钢桶翻新处理装置,采用如下的技术方案:
一种钢桶翻新处理装置,包括桶内壁翻新处理机构、加温机构、桶升降机构、卡桶机构、卡具移位驱动机构和位于所述桶内壁翻新处理机构和所述桶升降机构之间的拨桶机构,所述卡具移位驱动机构包括卡具移位拖车,所述卡桶机构安装在所述卡具移位拖车上,所述拨桶机构包括与所述桶升降机构顶面铰接的拨板、驱动所述拨板朝向所述桶升降机构转动的驱动组件,所述拨板朝向所述桶升降机构的一侧壁与所述钢桶桶口底部抵接。
通过采用上述技术方案,翻新处理装置运作时,运作驱动组件,使拨板顶端朝向桶升降机构转动,拨板拨动钢桶,将钢桶推到卡桶机构的卡桶机构处,同时拨板对钢桶桶口处起到限位作用,在与拨板的配合操作下,卡桶机构可以卡紧钢桶桶底边缘,有利于保障后续工序的顺利进行,提高生产效率;加温机构对桶内进行加温处理后,卡具移位机构带动卡具移位拖车移动,将钢桶送到内壁打磨工位,翻新处理机构对桶内壁进行打磨。
优选的,所述驱动组件包括拨杆、用于驱动所述拨杆朝向或背离拨板运动的空间凸轮和用于驱动所述空间凸轮转动的驱动件。通过采用上述技术方案,在使用时,驱动件带动空间凸轮转动,空间凸轮带动拨杆朝向拨板运动,拨杆推动拨板顶端朝向桶升降机构转动,同时完成拨桶动作,装置简单易于实现,且具有良好的拨动效果。优选的,所述驱动件为转动电机,所述转动电机的电机轴与所述空间凸轮端部固定连接。
通过采用上述技术方案,机械运作,开启转动电机即可运转空间凸轮,对拨杆与拨板运动提供动力。优选的,所述驱动组件设置于所述拨板侧壁中心处。
通过采用上述技术方案,驱动组件在拨板侧壁中心处驱动拨板转动,当拨板较长时,减少拨板一端受力,使拨板两端受力不均导致其倾斜的情况发生。
优选的,所述拨板侧壁底部设置有用于转动后复位的扭簧。
通过采用上述技术方案,拨板拨动钢桶时,拨板顶端朝向钢桶转动,此时拨板呈倾斜状态,同时扭簧受力发生形变。在完成拨桶动作后,扭簧自动回弹,使拨板相对钢桶转动复位。
优选的,所述桶升降机构一侧顶面设置有用于防止所述拨板在转动复位时发生过转的挡板。
通过采用上述技术方案,在扭簧驱动拨板转动复位后,挡板侧壁与挡板顶端相抵接,从而挡板对拨板起到限位作用,防止拨板发生过转。
优选的,所述翻新处理机构远离所述加温机构的一侧设置有抛光处理机构。通过采用上述技术方案,在进行桶内壁打磨工序的同时,抛光处理机构对桶外壁进行打磨抛光处理。
优选的,所述钢桶翻新处理装置还包括防尘罩。通过采用上述技术方案,在钢桶翻新处理装置运作时,易产生粉尘,并随器械运作扬起扩散在空气中,设置防尘罩,保护环境。
(1)通过设置挡板,拨板推动钢桶至卡桶机构的卡具处,同时拨板对钢桶桶口起到限位作用,卡具在和拨板的配合作用下,使卡具卡紧钢桶桶底边缘,便于后续流程的顺利进行,保障生产效率;
(2)通过设置拨杆和空间凸轮,空间凸轮驱动拨杆朝向或背离拨板运动,驱动拨板完成拨桶动作;
(3)通过设置扭簧,在拨动钢桶后,扭簧自动回弹,并带动拨板自动复位,使得拨板重复完成后续的拨桶动作。
4、附图说明
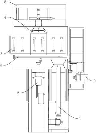
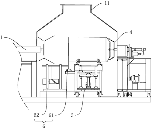
图1是本申请实施例中一种钢桶翻新处理装置的整体结构示意图;

图2是本申请实施例中一种钢桶翻新处理装置的另一视角示意图;

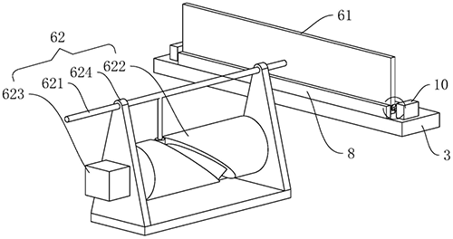
图3是本申请实施例中为了凸显拨桶机构的结构示意图;

图4是图3中的A部放大图。

附图标记:1、桶内壁翻新处理机构;2、加温机构;3、桶升降机构;4、卡桶机构;5、卡具移位驱动机构;6、拨桶机构;61、拨板;62、驱动组件;621、拨杆;622、空间凸轮;623、转动电机;624、支撑架;7、扭簧;8、挡板;9、抛光处理机构;10、铰接块;11、防尘罩。
5、具体实施方式
以下结合附图1‑4对本申请作进一步详细说明。
本申请实施例公开一种钢桶翻新处理装置。参照图1,一种钢桶翻新处理装置沿输料方向依次包括加温机构2和桶内壁翻新处理机构1,钢桶翻新处理装置还包括卡桶机构4、桶升降机构3和卡具移位驱动机构5。卡桶机构4与加温机构2对应设置,桶升降机构3位于卡桶机构4和加温机构2之间。卡具移位驱动机构5包括卡具移动拖车,卡具移动拖车与卡桶机构4远离桶升降机构3的一端固定连接。桶内壁翻新处理机构1远离加温机构2的一侧还设置有抛光处理机构9。本实施例中,抛光处理机构9由常规抛光处理设备组成,仅起到对钢桶的抛光处理作用。
将钢桶放置在桶升降机构3上,卡桶机构4卡接固定钢桶桶底边缘,运行卡具移动拖车并带动卡桶机构4移动,从而实现钢桶在不同工位之间的移动,使钢桶依次经过加温工位、桶内壁翻新工位和抛光处理工位,完成钢桶翻新。
参照图2和图3,为了使卡桶机构4卡紧钢桶,桶升降机构3远离卡桶机构4的一侧设置有拨桶机构6,拨桶机构6拨动钢桶,使钢桶朝向卡桶机构4移动。拨桶机构6包括拨板61和驱动组件62,拨板61竖直设置,且拨板61底端与桶升降机构3顶面铰接,拨板61朝向桶升降机构3的一侧壁与钢桶桶口底部相抵接。驱动组件62与拨板61背离钢桶的一侧壁抵接。驱动组件62驱动拨板61顶端朝向钢桶转动,钢桶桶口与拨板61抵接,使钢桶稳定不易移动,卡桶机构4在拨板61的配合下卡紧钢桶,有利于保障后续工序的顺利进行,保障工作效率。
参照图3和图4,桶升降机构3顶面间隔固定有两个铰接块10,两个铰接块10之间通过铰接轴与拨板61侧壁底端转动连接,铰接轴上套设有扭簧7,扭簧7两端分别与铰接块10侧壁和拨板61侧端固定连接。扭簧7自然状态下,拨板61顶端朝远离钢桶的一侧倾斜,拨板61推动钢桶后,扭簧7自动回弹并带动挡板8复位,减少拨板61阻碍钢桶进入桶升降机构3的情况发生。桶升降机构3顶面位于拨板61远离钢桶的一侧固定设置有挡板8,扭簧7自然状态下,拨板61侧面与挡板8顶端相抵接,减少挡板8复位时过转的情况发生。
参照图2和图3,驱动组件62包括拨杆621、用于驱动拨杆621朝向或背离拨板61运动的空间凸轮622和用于限位拨杆621的支撑架624。支撑架624固定在地面上,空间凸轮622端部与支撑架624转动连接。支撑架624的外侧壁上通过螺栓固定有驱动件,本实施例中,驱动件为转动电机623,转动电机623的电机轴与空间凸轮622一端焊接固定。驱动件驱动空间凸轮622转动,当空间凸轮622带动拨杆621朝向拨板61运动时,拨杆621推动拨板61,使拨板61侧壁与钢桶桶口相抵接,从而拨板61对钢桶桶口提供一定的作用力,进而限位钢桶,使得钢桶稳定不易移动。卡桶机构4在与拨板61的配合下卡紧钢桶,进而减少钢桶松动的情况发生,保障了工作效率。
参照图1和图3,驱动组件62设置在拨板61侧壁中心处,拨杆621端部与拨板61侧壁中心抵接,拨板61中心受到拨杆621的推力,使拨板61两端受力均衡。
参照图1,钢桶翻新处理装置还包括防尘罩11,翻新处理机构包括用于打磨钢桶内壁的毛刷,毛刷位于防尘罩11内,打磨钢桶内壁产生的粉尘落在防尘罩11内,有利于保障工作环境清洁。
本申请实施例一种钢桶翻新处理装置的实施原理为:运作转动电机623,转动电机623带动空间凸轮622转动,使拨杆621朝向拨板61运动;拨杆621端部推动拨板61顶端,使拨板61侧壁与钢桶相抵接,钢桶桶口处受到来自拨板61的作用力,卡桶机构4在与拨板61的配合下卡紧钢桶桶底边缘,进而使钢桶稳定不易松动,进而便于后续工序的顺利进行,保障了工作效率。
以上均为本申请的较佳实施例,并非依此限制本申请的保护范围,故:凡依本申请的结构、形状、原理所做的等效变化,均应涵盖于本申请的保护范围之内。