【专利介绍】一种全密闭式钢桶清洗装置
文/王润杰
公告号:CN 217121157 U
申请号:202220503857 .5
申请日:2022 .03 .09
专利权人:苏州博洋化学股份有限公司
发明人:王润杰 陈峰
【摘要】
本实用新型公开了一种全密闭式钢桶清洗装置,包括原料筒、泵体、第一过滤筒、第二过滤筒、包装桶、第一管体、第二管体、过滤网、第三管体、第四管体、第五管体、第六管体、母头以及公头。本实用新型技术方案中通过母头和公头进行管道与包装桶卡合连接,实现管道与包装桶的密封连接,同时便于拆装,整个装置清洗过程,将高纯物料通过接头打入桶中循环清洗过滤,整个过程在全密闭环境下进行,不与空气接触,减少杂质,水分混入,并提高整个生产过程的安全性,减少人工清洗的繁琐性。

【权利要求书】
1、一种全密闭式钢桶清洗装置,其特征在于,包括原料筒、泵体、第一过滤筒、第二过滤筒以及包装桶,所述原料筒的一侧底部固定连通安装有第一管体,所述第一管体的末端与泵体的进口连接,所述泵体的出口连接有第二管体,所述第二管体的末端与第一过滤筒的一侧顶部固定连通,所述第一过滤筒的一侧底部固定连通安装有第三管体,所述第三管体的末端与第二过滤筒的一侧顶部固定连通,所述第二过滤筒的一侧底部固定连通安装有第四管体,所述包装桶的数目为三个,位于左侧的所述包装桶与第四管体的末端连通安装,位于右侧的所述包装桶与第六管体的一端连通安装,所述第六管体的末端与原料筒的顶部固定连通安装,相邻的所述包装桶之间通过第五管体连通安装;
所述包装桶通过公头和母头与第四管体的一端、第五管体的一端以及第六管体的一端连接。
2、根据权利要求1所述的一种全密闭式钢桶清洗装置,其特征在于,所述第一过滤筒的内部以及所述第二过滤筒的内部均固定安装有过滤网。
3、根据权利要求1所述的一种全密闭式钢桶清洗装置,其特征在于,所述母头包括母头外套、第一密封圈、第一固定导向座、第一导向柱、第一单向顶针座、第二密封圈、第一弹簧以及第三密封圈,所述母头外套的一端内壁设置有第一密封圈,所述母头外套的另一端设置有第三密封圈,所述母头外套的内部固定安装有第一固定导向座,所述第一固定导向座与第一导向柱间隙配合连接,所述第一导向柱的一端固定连接有第一单向顶针座,所述第一单向顶针座上设置有第二密封圈,所述第一导向柱上套设有第一弹簧,所述第一单向顶针座与第一固定导向座之间通过第一弹簧弹性连接,所述母头外套的内部设置有内口,所述第一单向顶针座与内口嵌合连接。
4、根据权利要求1所述的一种全密闭式钢桶清洗装置,其特征在于,所述公头包括公头外套、第二固定导向座、第二导向柱、第二单向顶针座、第四密封圈、第二弹簧以及第五密封圈,所述公头外套的内部固定安装有第二固定导向座,所述第二导向柱与第二固定导向座间隙配合连接,所述第二导向柱的一端固定连接有第二单向顶针座,所述第二单向顶针座与公头外套的一端嵌合,所述第二单向顶针座上设置有第四密封圈,所述第二导向柱上套设有第二弹簧,所述第二固定导向座和第二单向顶针座之间通过第一弹簧弹性连接,所述公头外套的一端内壁上设置有第五密封圈。
【说明书】
1、技术领域
本实用新型涉及钢桶清洗技术领域,特别涉及一种全密闭式钢桶清洗装置。
2、背景技术
近年来,随着电子产品的升级换代,对于现在的电子化学品的颗粒要求及安全性也越来越高。这些要求主要体现在原料的颗粒,包装桶本身的洁净度,因此在整个生产制造过程中对于这些指标的控制尤为重要。在目前国内的大部分化工制造过程使用的普通桶,需要人工或通过超声波对桶的内部进行清洗,而且还需要烘干,清洗需要花大量的时间未必能一次到位。因此,针对上述问题提出一种全密闭式钢桶清洗装置。
3、实用新型内容
基于此,有必要提供一种全密闭式钢桶清洗装置,通过母头和公头进行管道与包装桶卡合连接,实现管道与包装桶的密封连接,同时便于拆装,整个装置清洗过程,将高纯物料通过接头打入桶中循环清洗过滤,整个过程在全密闭环境下进行,不与空气接触,减少杂质,水分混入,并提高整个生产过程的安全性,减少人工清洗的繁琐性。
本实用新型保护一种全密闭式钢桶清洗装置,包括原料筒、泵体、第一过滤筒、第二过滤筒以及包装桶,所述原料筒的一侧底部固定连通安装有第一管体,所述第一管体的末端与泵体的进口连接,所述泵体的出口连接有第二管体,所述第二管体的末端与第一过滤筒的一侧顶部固定连通,所述第一过滤筒的一侧底部固定连通安装有第三管体,所述第三管体的末端与第二过滤筒的一侧顶部固定连通,所述第二过滤筒的一侧底部固定连通安装有第四管体,所述包装桶的数目为三个,位于左侧的所述包装桶与第四管体的末端连通安装,位于右侧的所述包装桶与第六管体的一端连通安装,所述第六管体的末端与原料筒的顶部固定连通安装,相邻的所述包装桶之间通过第五管体连通安装;所述包装桶通过公头和母头与第四管体的一端、第五管体的一端以及第六管体的一端连接。
进一步地,所述第一过滤筒的内部以及所述第二过滤筒的内部均固定安装有过滤网。
进一步地,所述母头包括母头外套、第一密封圈、第一固定导向座、第一导向柱、第一单向顶针座、第二密封圈、第一弹簧以及第三密封圈,所述母头外套的一端内壁设置有第一密封圈,所述母头外套的另一端设置有第三密封圈,所述母头外套的内部固定安装有第一固定导向座,所述第一固定导向座与第一导向柱间隙配合连接,所述第一导向柱的一端固定连接有第一单向顶针座,所述第一单向顶针座上设置有第二密封圈,所述第一导向柱上套设有第一弹簧,所述第一单向顶针座与第一固定导向座之间通过第一弹簧弹性连接,所述母头外套的内部设置有内口,所述第一单向顶针座与内口嵌合连接。
进一步地,所述公头包括公头外套、第二固定导向座、第二导向柱、第二单向顶针座、第四密封圈、第二弹簧以及第五密封圈,所述公头外套的内部固定安装有第二固定导向座,所述第二导向柱与第二固定导向座间隙配合连接,所述第二导向柱的一端固定连接有第二单向顶针座,所述第二单向顶针座与公头外套的一端嵌合,所述第二单向顶针座上设置有第四密封圈,所述第二导向柱上套设有第二弹簧,所述第二固定导向座和第二单向顶针座之间通过第一弹簧弹性连接,所述公头外套的一端内壁上设置有第五密封圈。
实施本实用新型的一种全密闭式钢桶清洗装置至少具有以下有益效果:
整个全密闭式钢桶清洗装置通过母头和公头进行管道与包装桶卡合连接,实现管道与包装桶的密封连接,同时便于拆装,整个装置清洗过程,将高纯物料通过接头打入桶中循环清洗过滤,整个过程在全密闭环境下进行,不与空气接触,减少杂质,水分混入,并提高整个生产过程的安全性,减少人工清洗的繁琐性。
4、附图说明
为了更清楚地说明本实用新型实施例或现有技术中的技术方案,下面将对实施例或现有技术描述中所需要使用的附图作简单地介绍,显而易见地,下面描述中的附图仅仅是本实用新型的一些实施例,对于本领域普通技术人员来讲,在不付出创造性劳动的前提下,还可以根据这些附图示出的结构获得其他的附图。
图1为本实用新型一种全密闭式钢桶清洗装置实施例一的整体结构示意图;

图2为本实用新型一种全密闭式钢桶清洗装置实施例一的母头结构示意图;

图3为本实用新型一种全密闭式钢桶清洗装置实施例一的公头结构示意图。

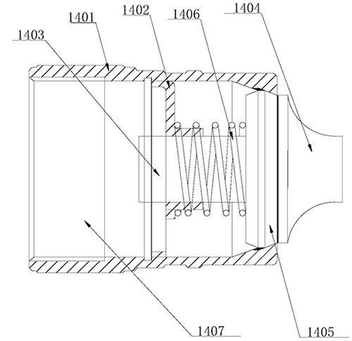
附图标记说明:图中:1‑原料筒;2‑泵体;3‑第一过滤筒;4‑第二过滤筒;5‑包装桶;6‑第一管体;7‑第二管体;8‑过滤网;9‑第三管体;10‑第四管体;11‑第五管体;12‑第六管体;13‑母头;1301‑母头外套;1302‑第一密封圈;1303‑第一固定导向座;1304‑第一导向柱;1305‑第一单向顶针座;1306‑第二密封圈;1307‑第一弹簧;1308‑第三密封圈;1309‑内口;14‑公头;1401‑公头外套;1402‑第二固定导向座;1403‑第二导向柱;1404‑第二单向顶针座;1405‑第四密封圈;1406‑第二弹簧;1407‑第五密封圈。
本实用新型目的的实现、功能特点及优点将结合实施例,参照附图做进一步说明。
5、具体实施方式
下面将结合本实用新型实施例中的附图,对本实用新型实施例中的技术方案进行清楚、完整地描述,显然,所描述的实施例仅仅是本实用新型的一部分实施例,而不是全部的实施例。基于本实用新型中的实施例,本领域普通技术人员在没有作出创造性劳动前提下所获得的所有其他实施例,都属于本实用新型保护的范围。
需要说明,本实用新型实施例中所有方向性指示(诸如上、下、左、右、前、后……)仅用于解释在某一特定姿态(如附图所示)下各部件之间的相对位置关系、运动情况等,如果该特定姿态发生改变时,则该方向性指示也相应地随之改变。另外,在本实用新型中涉及“第一”、“第二”等的描述仅用于描述目的,而不能理解为指示或暗示其相对重要性或者隐含指明所指示的技术特征的数量。由此,限定有“第一”、“第二”的特征可以明示或者隐含地包括至少一个该特征。
另外,全文中的“和/或”包括三个方案,以A和/或B为例,包括A技术方案、B技术方案,以及A和B同时满足的技术方案;另外,各个实施例之间的技术方案可以相互结合,但是必须是以本领域普通技术人员能够实现为基础,当技术方案的结合出现相互矛盾或无法实现时应当认为这种技术方案的结合不存在,也不在本实用新型要求的保护范围之内。
如图1‑图3所示,一种全密闭式钢桶清洗装置,包括原料筒1、泵体2、第一过滤筒3、第二过滤筒4以及包装桶5,所述原料筒1的一侧底部固定连通安装有第一管体6,所述第一管体6的末端与泵体2的进口连接,所述泵体2的出口连接有第二管体7,所述第二管体7的末端与第一过滤筒3的一侧顶部固定连通,所述第一过滤筒3的一侧底部固定连通安装有第三管体9,所述第三管体9的末端与第二过滤筒4的一侧顶部固定连通,所述第二过滤筒4的一侧底部固定连通安装有第四管体10,所述包装桶5的数目为三个,位于左侧的所述包装桶5与第四管体10的末端连通安装,位于右侧的所述包装桶5与第六管体12的一端连通安装,所述第六管体12的末端与原料筒1的顶部固定连通安装,相邻的所述包装桶5之间通过第五管体11连通安装;
所述包装桶5通过公头14和母头13与第四管体10的一端、第五管体11的一端以及第六管体12的一端连接。
所述第一过滤筒3的内部以及所述第二过滤筒4的内部均固定安装有过滤网8,第一过滤筒3中的过滤网8的网孔孔径为0 .2um ,第二过滤筒4中的过滤网8的网孔孔径为0 .1um。
所述母头13包括母头外套1301、第一密封圈1302、第一固定导向座1303、第一导向柱1304、第一单向顶针座1305、第二密封圈1306、第一弹簧1307以及第三密封圈1308,所述母头外套1301的一端内壁设置有第一密封圈1302,所述母头外套1301的另一端设置有第三密封圈1308,所述母头外套1301的内部固定安装有第一固定导向座1303,所述第一固定导向座1303与第一导向柱1304间隙配合连接,所述第一导向柱1304的一端固定连接有第一单向顶针座1305,所述第一单向顶针座1305上设置有第二密封圈1306,所述第一导向柱1304上套设有第一弹簧1307,所述第一单向顶针座1305与第一固定导向座1303之间通过第一弹簧1307弹性连接,所述母头外套1301的内部设置有内口1309,所述第一单向顶针座1305与内口1309嵌合连接,母头13的左侧与管道或包装桶5进行连接,通过第一密封圈1302提供连接的密封。
所述公头14包括公头外套1401、第二固定导向座1402、第二导向柱1403、第二单向顶针座1404、第四密封圈1405、第二弹簧1406以及第五密封圈1407,所述公头外套1401的内部固定安装有第二固定导向座1402,所述第二导向柱1403与第二固定导向座1402间隙配合连接,所述第二导向柱1403的一端固定连接有第二单向顶针座1404,所述第二单向顶针座1404与公头外套1401的一端嵌合,所述第二单向顶针座1404上设置有第四密封圈1405,所述第二导向柱1403上套设有第二弹簧1406,所述第二固定导向座1402和第二单向顶针座1404之间通过第一弹簧1307弹性连接,所述公头外套1401的一端内壁上设置有第五密封圈1407。
使用方法:整个全密闭式钢桶清洗装置在进行使用时,如图所示进行三个包装桶5的清洗,每个包装桶5上安装一个公头14,一个母头13,与包装桶5连接的管道,即第四管体10、第五管体11、第六管体12,连接公头14或母头13,实现管道与包装桶5连接,通过母头13与公头14进行卡合实现连接;
母头13套到公头14上,公头外套1401的外壁与母头外套1301的内壁进行套接,进行卡合,同时会挤压第三密封圈1308,提供连接后的密封,上述安装,只需进行母头13插入到公头14上即可,安装操作简单,进行拆卸时,只需将母头13拔下即可;
在进行清洗时,泵体2抽取原料筒1中的高纯物料,物料通过第一管体6进入泵体2,然后通过第二管体7进入到第一过滤筒3内部顶端处,通过第一过滤筒3内的过滤网8进行过滤,然后通过第三管体9进入到第一过滤筒3内部顶端处,通过第二过滤筒4内的过滤网8进行过滤,然后通过第四管体10进入到位于最左侧的包装桶5中,通过在三个包装桶5流过,通过第六管体12回流到原料筒1,物料进行循化流过时,会带走包装桶5中需要清洁的物质,通过反复循化,通过过滤网8进行过滤,实现清洗,清洗过程,处于全封闭状态下,不与空气接触,减少杂质,水分混入,并提高整个生产过程的安全性,减少人工清洗的繁琐性;
物料通过母头13时,只能单向流动,如图2所示,物料只能通过左侧向右侧流通;物料通过公头14时,只能单向流动,如图3所示,物料只能通过右侧流通到左侧;母头13与公头14之间的连接,如图2和图3所示,母头13的右侧套在公头14的右侧,实现安装。
以上所述仅为本实用新型的优选实施例,并非因此限制本实用新型的专利范围,凡是在本实用新型的实用新型构思下,利用本实用新型说明书及附图内容所作的等效结构变换,或直接/间接运用在其他相关的技术领域均包括在本实用新型的专利保护范围内。