【专利介绍】一种钢桶清洁装置
文/梁海波
申请号:CN202122202462.X
申请日:2021.09.12
公开号:CN215656936U
公开日:2022.01.28
IPC分类号:B08B9/28; B08B9/36
申请人:广东海文环保技术有限公司
发明人:梁海波
【摘要】
本实用新型提供了一种钢桶清洁装置,包括基座,基座包括底座和设置于底座上的筒状收容部;筒状收容部的内壁上设置有多个弹性部,每一弹性部的前端设置有一固定板,固定板的上端设置有一导向部;底座内部安装有转盘,转盘上设置有第一气缸和第二气缸,第一气缸上安装有第一输出轴,第一输出轴竖直设置,第一输出轴上设置有第一清洁刷;第二气缸上安装有第二输出轴,第二输出轴竖直设置,第二输出轴上设置有第二清洁刷;底座的中部竖直向上设置有直通钢管,直通钢管位于筒状收容部的收容空间内,直通钢管上设置有多个喷嘴,直通钢管的顶部设置平板支撑部。所述钢桶清洁装置可以对钢桶进行清洗,清洗方便,清洗效果好。

【权利要求书】
1、一种钢桶清洁装置,其特征在于,包括一基座,所述基座包括一底座和设置于所述底座上的筒状收容部,所述筒状收容部具有一收容空间,用于容置待清洗的钢桶;
所述筒状收容部的内壁上设置有多个弹性部,每一所述弹性部的前端设置有一固定板,所述固定板的上端设置有一导向部,所述导向部朝远离所述筒状收容部中轴线的一侧倾斜设置;
所述底座内部安装有转盘,所述转盘上设置有第一气缸和第二气缸,所述第一气缸上安装有第一输出轴,所述第一输出轴竖直设置,所述第一输出轴上设置有第一清洁刷;所述第二气缸上安装有第二输出轴,所述第二输出轴竖直设置,所述第二输出轴上设置有第二清洁刷;
所述底座的中部竖直向上设置有直通钢管,所述直通钢管位于所述筒状收容部的收容空间内,所述直通钢管上设置有多个喷嘴,所述直通钢管的顶部设置平板支撑部。
2、如权利要求1所述的钢桶清洁装置,其特征在于:所述底座上环设有集水槽,所述集水槽位于所述弹性部的下侧。
3、如权利要求1所述的钢桶清洁装置,其特征在于:所述直通钢管上的多个喷嘴中,部分所述喷嘴水平设置,部分所述喷嘴向上倾斜设置。
4、如权利要求1所述的钢桶清洁装置,其特征在于:所述固定板竖直设置,所述导向部由所述固定板的上端斜向上侧延伸而成。
5、如权利要求4所述的钢桶清洁装置,其特征在于:所述导向部上端所处的水平位置高于所述筒状收容部上端所处的水平位置。
6、如权利要求1所述的钢桶清洁装置,其特征在于:所述弹性部的数量为四个,均匀分布在所述筒状收容部的内壁,所述弹性部为弹簧,弹簧水平设置。
7、如权利要求1所述的钢桶清洁装置,其特征在于:所述直通钢管的下端连接至外部高压水箱。
【说明书】
一种钢桶清洁装置
1、技术领域
本实用新型涉及一种清洁装置,尤其涉及一种钢桶清洁装置。
2、背景技术
目前,钢桶是应用于化工、染料、医药和农药的工具。
为保护环境和降低成本,人们常将使用过的钢桶回收再利用,由于装过化工原料等物品的钢桶内壁会残留有废弃化学物质,因此人们在回收过程中需要将钢桶内部清洁干净。
传统的清除方法是通过人工方法进行清除,工人用蘸有清洗溶剂的毛刷对钢桶进行清洗后将清洗废液倒出。然而,人工清洗费时费力,工作效率较低,容易浪费清洗剂,且该方法耗水量大,清洗效果不佳。
因此有必要设计一种新的钢桶清洁装置,以克服上述问题。
3、实用新型内容
本实用新型的目的在于克服现有技术之缺陷,提供了一种钢桶清洁装置,清洗方便,清洗效果好。
本实用新型是这样实现的:
本实用新型提供一种钢桶清洁装置,包括一基座,所述基座包括一底座和设置于所述底座上的筒状收容部,所述筒状收容部具有一收容空间,用于容置待清洗的钢桶;
所述筒状收容部的内壁上设置有多个弹性部,每一所述弹性部的前端设置有一固定板,所述固定板的上端设置有一导向部,所述导向部朝远离所述筒状收容部中轴线的一侧倾斜设置;
所述底座内部安装有转盘,所述转盘上设置有第一气缸和第二气缸,所述第一气缸上安装有第一输出轴,所述第一输出轴竖直设置,所述第一输出轴上设置有第一清洁刷;所述第二气缸上安装有第二输出轴,所述第二输出轴竖直设置,所述第二输出轴上设置有第二清洁刷;
所述底座的中部竖直向上设置有直通钢管,所述直通钢管位于所述筒状收容部的收容空间内,所述直通钢管上设置有多个喷嘴,所述直通钢管的顶部设置平板支撑部。
进一步地,所述底座上环设有集水槽,所述集水槽位于所述弹性部的下侧。
进一步地,所述直通钢管上的多个喷嘴中,部分所述喷嘴水平设置,部分所述喷嘴向上倾斜设置。
进一步地,所述固定板竖直设置,所述导向部由所述固定板的上端斜向上侧延伸而成。
进一步地,所述导向部上端所处的水平位置高于所述筒状收容部上端所处的水平位置。
进一步地,所述弹性部的数量为四个,均匀分布在所述筒状收容部的内壁,所述弹性部为弹簧,弹簧水平设置。
进一步地,所述直通钢管的下端连接至外部高压水箱。
本实用新型具有以下有益效果:
待清洗的钢桶通过导向部导向,进入到筒状收容部的收容空间内,并借助弹性部的弹力作用被固定板固定住,转盘转动,可以带动两个清洁刷进行圆周运动,从而对钢桶的内壁进行清洗;气缸能带动输出轴沿竖直方向上运动,使继而使钢桶的内壁上下侧都能被清洁刷清洗干净;而直通钢管上设置喷嘴,能向钢桶的内壁喷射清洗液,使得清洗效果更好,使用也较为方便。
4、附图说明
为了更清楚地说明本实用新型实施例或现有技术中的技术方案,下面将对实施例或现有技术描述中所需要使用的附图作简单地介绍,显而易见地,下面描述中的附图仅仅是本实用新型的一些实施例,对于本领域普通技术人员来讲,在不付出创造性劳动性的前提下,还可以根据这些附图获得其它的附图。

图1
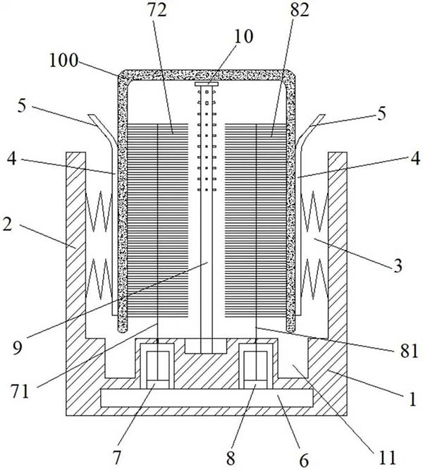
图1为本实用新型实施例提供的钢桶清洁装置的结构示意图。
5、具体实施方式
下面将结合本实用新型实施例中的附图,对本实用新型实施例中的技术方案进行清楚、完整地描述,显然,所描述的实施例仅仅是本实用新型一部分实施例,而不是全部的实施例。基于本实用新型中的实施例,本领域普通技术人员在没有做出创造性劳动前提下所获得的所有其它实施例,都属于本实用新型保护的范围。
在本具体实施例的描述中,需要说明的是,术语“中心”、“上”、“下”、“左”、“右”、“竖直”、“水平”、“内”、“外”等指示的方位或位置关系为基于附图所示的方位或位置关系,或者是该实用新型产品使用时惯常摆放的方位或位置关系,仅是为了便于描述实用新型和简化描述,而不是指示或暗示所指的装置或元件必须具有特定的方位、以特定的方位构造和操作,因此不能理解为对实用新型的限制。此外,术语“第一”、“第二”、“第三”等仅用于区分描述,而不能理解为指示或暗示相对重要性。
此外,术语“水平”、“竖直”、“悬垂”等术语并不表示要求部件绝对水平或悬垂,而是可以稍微倾斜。如“水平”仅仅是指其方向相对“竖直”而言更加水平,并不是表示该结构一定要完全水平,而是可以稍微倾斜。
在本具体实施例的描述中,还需要说明的是,除非另有明确的规定和限定,术语“设置”、“安装”、“相连”、“连接”应做广义理解,例如,可以是固定连接,也可以是可拆卸连接,或一体地连接;可以是机械连接,也可以是电连接;可以是直接相连,也可以通过中间媒介间接相连,可以是两个元件内部的连通。对于本领域的普通技术人员而言,可以具体情况理解上述术语在本具体实施例中的具体含义。
如图1,本实用新型提供一种钢桶清洁装置,包括一基座,所述基座包括一底座1和设置于所述底座1上的筒状收容部2,所述筒状收容部2具有一收容空间,用于容置待清洗的钢桶100。所述底座1可以放置在水平的平台上;所述底座1与所述筒状收容部2可以是一体成型设置。所述筒状收容部2的外观呈筒状结构,内部中空,用来容纳钢桶100,钢桶100在被清洗的时候是倒扣的,开口向下。
如图1,所述筒状收容部2的内壁上设置有多个弹性部3,在本较佳实施例中,所述弹性部3为弹簧,弹簧水平设置,提供水平方向上的弹力。每一所述弹性部3的前端设置有一固定板4,即固定板4能被弹簧带动进行水平移动。所述固定板4的上端设置有一导向部5,所述导向部5朝远离所述筒状收容部2中轴线的一侧倾斜设置,即导向部5向外侧扩张。多个固定板4的多个导向部5共同组成类似喇叭形状,向外周扩张,方便将待清洗的钢桶100沿着导向部5朝下进入到固定板4的包围之中,并借助弹性部3的弹力,使得固定板4将钢桶100固定住。
如图1,进一步地,所述导向部5上端所处的水平位置高于所述筒状收容部2上端所处的水平位置,使得人工在放置倒扣的钢桶100时能直接放入至多个导向部5形成的空间内。在本较佳实施例中,所述弹性部3的数量为四个,均匀分布在所述筒状收容部2的内壁,保证了钢桶100的侧面是均匀受力的。
进一步地,所述固定板4竖直设置,所述导向部5由所述固定板4的上端斜向上侧延伸而成。所述导向部5与所述固定板4一体成型,其连接的部位进行圆角处理,使得钢桶100能顺利的沿着导向部5进入到多个固定板4形成的包围圈中。
如图1,所述底座1内部安装有转盘6,所述转盘6能做水平旋转运动,可以借助马达、电机来实现此过程,此为常见技术,具体的结构此处不再累述。所述转盘6上设置有第一气缸7和第二气缸8,两个气缸中心对称设置,所述第一气缸7上安装有第一输出轴71,所述第一输出轴71竖直设置,所述第一输出轴71上设置有第一清洁刷72;所述第二气缸8上安装有第二输出轴81,所述第二输出轴81竖直设置,所述第二输出轴81上设置有第二清洁刷82。所述第一清洁刷72与所述第二清洁刷82能对钢桶100的内壁进行刷洗。
如图1,所述第一气缸7与所述第二气缸8可以带动对应的输出轴进行竖直方向上的运动,从而带动对应的清洁刷进行竖直方向上的移动,能保证钢桶100的内壁上下侧均被刷洗到。在刷洗的过程中,所述转盘6水平运动,能带动清洁刷进行圆周旋转运动,从而对钢桶100的内壁进行全面的刷洗。
如图1所示,所述底座1的中部竖直向上设置有直通钢管9,所述直通钢管9位于所述筒状收容部2的收容空间内,所述直通钢管9上设置有多个喷嘴(已图示,未标号),所述直通钢管9的顶部设置平板支撑部10。所述直通钢管9的下端连接至外部高压水箱(未图示),水箱内可以加入清洗剂、水等,从而通过高压作用,将带有清洗剂的水由各个喷嘴喷出,喷射至钢桶100的内壁。而所述直通钢管9的顶部设置的平板支撑部10能起到一定的限位作用,能托住钢桶100内侧的底部,钢桶100从导向部5进入到固定板4包围的空间内被固定时,倒扣的钢桶100底部受到所述平板支撑部10的抵顶限位作用,不会无限制的下降,在一定程度上,保证了钢桶100被多个固定板4固定的牢固性。
在本较佳实施例中,所述直通钢管9上的多个喷嘴中,下侧部分所述喷嘴水平设置,靠近上侧部分所述喷嘴向上倾斜设置,倾斜设置的喷嘴能将清洗液喷射至钢桶100内侧的底部,保证了钢桶100的内壁全部地方都被清洗液所触及到;清洁刷借助气缸、输出轴的作用,清洁刷的上端能对钢桶100的底部进行刷洗。
进一步地,所述底座1上环设有集水槽11,所述集水槽11位于所述弹性部3的下侧,同时也会位于钢桶壁的下侧;可以在底座1的一侧开设出水口(未图示),并连接至外部废水池,清洗钢桶内壁的水会顺着钢桶内壁向下流向集水槽11,然后由出水口导向至废水池,进行回收处理。
综上所述,待清洗的钢桶通过导向部5导向,进入到筒状收容部2的收容空间内,并借助弹性部3的弹力作用被固定板4固定住,转盘6转动,可以带动两个清洁刷进行圆周运动,从而对钢桶的内壁进行清洗;气缸能带动输出轴沿竖直方向上运动,使继而使钢桶的内壁上下侧都能被清洁刷清洗干净;而直通钢管9上设置喷嘴,能向钢桶的内壁喷射清洗液,使得清洗效果更好,使用也较为方便。
以上所述仅为本实用新型的较佳实施例而已,并不用以限制本实用新型,凡在本实用新型的精神和原则之内,所作的任何修改、等同替换、改进等,均应包含在本实用新型的保护范围之内。