【专利介绍】钢桶抛光装置
文/张宝忠
申请号:PCT/CN2011/084863
分类号:B08B9/36(2006.01);B24B29/04(2006.01);B08B9/20(2006.01)
发明人:张宝忠
专利权人:天津绿博大环保设备科技研发有限公司
一、摘要
一种钢桶抛光装置,在钢桶内壁打磨机构(2)前端与桶口相应的位置安装有桶口定位机构(3),桶口定位机构包括转盘轴承(14),转盘轴承的内圈通过螺栓与内连接套(15)固定连接,转盘轴承的外圈与外连接套(13)固定连接,内连接套的端部与桶口相对应的位置安装有汽缸(17),内连接套内分别设置有与汽缸进气口连通的进气通道(21)和与汽缸出气口连通的出气通道(9),进气通道和出气通道分别与外连接套上的环形进气凹槽(10)和环形出气凹槽(8)相接,环形进气凹槽和环形出气凹槽上分别设置有进气孔(12)和出气孔(11),汽缸的活塞杆端部连接有卡环(19),卡环与内连接套的端面之间安装有挡圈(18)。这种钢桶抛光装置能够防止桶颤动,提高设备的使用寿命和打磨效果。

二、权利要求书
1、一种钢桶抛光装置,包括主机架、钢桶内壁打磨机构、外抛光机构、卡桶机构、桶旋转电机、桶升降机构,所述主机架上安装有钢桶内壁打磨机构,所述钢桶内壁打磨机构的一侧安装有外抛光机构,所述钢桶内壁打磨机构相对处安装有卡桶机构,所述卡桶机构中的卡具传动轴通过传动机构与桶旋转电机连接,所述钢桶内壁打磨机构与所述卡桶机构之间安装有桶升降机构,其特征在于,在钢桶内壁打磨机构前端与桶口相应的位置安装有桶口定位机构,所述桶口定位机构包括转盘轴承,所述转盘轴承的内圈通过螺栓与内连接套固定连接,所述转盘轴承的外圈通过螺栓与外连接套固定连接,所述内连接套的端部与桶口相对应的位置安装有汽缸,所述内连接套内分别设置有与汽缸进气口连通的进气通道和与汽缸出气口连通的出气通道,所述进气通道和出气通道分别与所述外连接套上的环形进气凹槽和环形出气凹槽相接,所述环形进气凹槽和环形出气凹槽上分别设置有进气孔和出气孔,所述外连接套与内连接套相接处环形进气凹槽和环形出气凹槽的两侧分别安装有密封圈,所述汽缸的活塞杆端部连接有卡环,所述卡环与内连接套的端面之间安装有与内连接套固定的挡圈,所述汽缸与内连接套之间安装有垫片。
2、根据权利要求1所述的钢桶抛光装置,其特征在于,所述外抛光机构的拖车上安装有下桶架。
3、根据权利要求1所述的钢桶抛光装置,其特征在于,所述钢桶内壁打磨机构的侧面安装有喷烧装置。
三、说明书
钢桶抛光装置
1、技术领域
本发明涉及一种钢桶抛光装置。
2、背景技术
在废旧钢桶翻新过程中,使用卡桶机构将桶卡住,通过桶旋转电机带动卡桶机构中的卡具传动轴及卡具转动,钢桶内壁打磨机构中的刷子盘通过拖车及电机带动进入桶内对桶内壁进行打磨。同时,外抛光机构对桶外壁进行打磨。由于桶一端靠卡具支撑,钢刷打磨的力度很大,桶身比较长,在打磨过程中,钢桶不断颤动,影响打磨效果,同时,容易损坏设备,降低设备使用寿命。而且,现有的喷烧一体钢桶翻新处理装置中,卡具卡住桶,喷烧机构先向钢桶内喷火,卡具再将桶移动到打磨工位。在内壁打磨工位,当卡具没有完全卡住钢桶时,不容易发现,钢刷进入桶中打磨时,容易将桶打飞,影响生产的顺利进行,降低了生产的安全性。
3、发明内容
本发明是为了克服现有技术中的不足之处,提供一种能够防止桶颤动,提高设备使用寿命和打磨效果的钢桶抛光装置。
本发明通过下述技术方案实现:
一种钢桶抛光装置,包括主机架、钢桶内壁打磨机构、外抛光机构、卡桶机构、桶旋转电机、桶升降机构,所述主机架上安装有钢桶内壁打磨机构,所述钢桶内壁打磨机构的一侧安装有外抛光机构,所述钢桶内壁打磨机构相对处安装有卡桶机构,所述卡桶机构中的卡具传动轴通过传动机构与桶旋转电机连接,所述钢桶内壁打磨机构与所述卡桶机构之间安装有桶升降机构,其特征在于,在钢桶内壁打磨机构前端与桶口相应的位置安装有桶口定位机构,所述桶口定位机构包括转盘轴承,所述转盘轴承的内圈通过螺栓与内连接套固定连接,所述转盘轴承的外圈通过螺栓与外连接套固定连接,所述内连接套的端部与桶口相对应的位置安装有汽缸,所述内连接套内分别设置有与汽缸进气口连通的进气通道和与汽缸出气口连通的出气通道,所述进气通道和出气通道分别与所述外连接套上的环形进气凹槽和环形出气凹槽相接,所述环形进气凹槽和环形出气凹槽上分别设置有进气孔和出气孔,所述外连接套与内连接套相接处环形进气凹槽和环形出气凹槽的两侧分别安装有密封圈,所述汽缸的活塞杆端部连接有卡环,所述卡环与内连接套的端面之间安装有与内连接套固定的挡圈,所述汽缸与内连接套之间安装有垫片。
所述外抛光机构的拖车上安装有下桶架。
所述钢桶内壁打磨机构的侧面安装有喷烧装置。
本发明具有下述技术效果:
(1)本发明的钢桶抛光装置在桶口处安装有与钢桶一起转动的桶口定位机构,将桶口支撑住,这样,桶的两端支撑,能够防止桶在打磨过程中产生颤动,保障设备使用的稳定性和安全性,提高设备使用寿命和打磨效果。
(2)本发明的钢桶抛光装置的外抛光拖车上安装有下料架,并随着外抛光拖车的移动而移动,避免了与上桶干涉。
4、附图说明
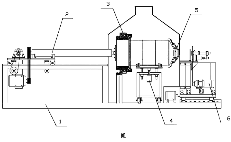
图1为本发明钢桶抛光装置的主视图;

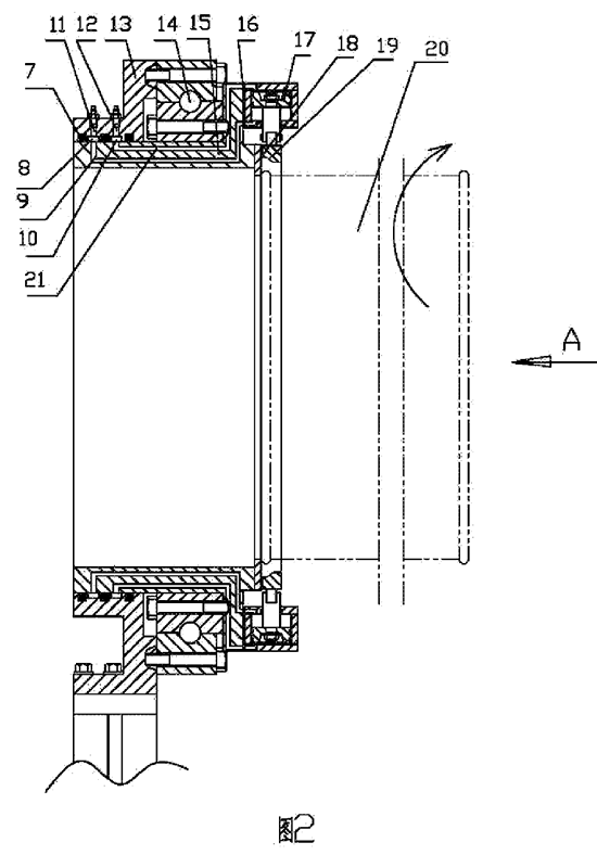
图2为桶口定位机构的剖视图;

图3为A向示意图。

5、具体实施方式
以下结合附图和具体实施例对本发明进行详细说明。
本发明钢桶抛光装置的示意图如图1所示,包括主机架1、钢桶内壁打磨机构2、外抛光机构、卡桶机构5、桶旋转电机6、桶升降机构4,所述主机架1上安装有钢桶内壁打磨机构2,所述钢桶内壁打磨机构2的一侧安装有外抛光机构,所述钢桶内壁打磨机构相对处旋转电机6连接,所述钢桶内壁打磨机构2与所述卡桶机构5之间安装有桶升降机构4,在钢桶内壁打磨机构2前端与桶口相应的位置安装有桶口定位机构3,所述桶口定位机构的示意图如图3和图4所示,包括转盘轴承14,所述转盘轴承14的内圈通过螺栓与内连接套15固定连接,所述转盘轴承14的外圈通过螺栓与外连接套13固定连接,所述内连接套15的端部与桶口相对应的位置安装有汽缸17,所述内连接套15内分别设置有与汽缸进气口连通的进气通道21和与汽缸出气口连通的出气通道9,所述进气通道21与所述外连接套上的环形进气凹槽10相接,出气通道9与外连接套上的环形出气凹槽8相接,所述环形进气凹槽10上设置有进气孔12,环形出气凹槽8上设置有出气孔11,所述外连接套与内连接套相接处环形进气凹槽10和环形出气凹槽8的两侧分别安装有密封圈7,所述汽缸17的活塞杆端部连接有卡环19,所述卡环19与内连接套的15端面之间安装有与内连接套固定的挡圈18,所述汽缸17与内连接套15之间安装有垫片16。
所述外抛光机构8的拖车上安装有下桶架10。
所述钢桶内壁打磨机构的侧面安装有喷烧装置。
使用时,将桶放在桶升降机构上,升降机构启动,带动桶上升。卡桶机构动作将桶卡住并使钢桶20的桶口顶住挡圈,气体通过外连接套上的进气孔进入环形进气凹槽、进气通道、汽缸的进气孔进入汽缸内,推动活塞杆伸出,带动卡环收缩从桶口的外侧将桶口卡紧。旋转电机通过卡桶机构带动钢桶旋转,并带动卡环、汽缸、垫片和内连接套一起旋转,外连接套固定不转。钢桶内壁打磨机构中的刷子盘通过拖车及电机带动进入桶内对桶内壁进行打磨。同时,外抛光机构对桶外壁进行打磨。打磨完成后,刷子盘从桶内退出,旋转电机停止。汽缸内的气体通过出气口、出气通道、出气凹槽、出气孔排出,活塞杆收缩,带动卡环张开,桶口恢复自由状态,卡桶机构动作将桶放在桶升降机构上,人工推动,桶从外抛光拖车上的下料架上下料。