【专利介绍】新型环保内衬膜钢桶
文/张长禄
申请号:CN93214134.X
公开号:CN2184656Y
IPC分类号:B65D1/00
发明人:张长禄;林秀森
专利权人:大连滨海制桶厂
摘要
一种衬膜钢桶,其属于容器类。该桶是在钢桶壳内粘贴有一种塑料衬膜,耐溶剂、抗腐蚀、低温性能好、适用温度范围宽(-48/110℃),满足使用条件。桶口设有塑料衬圈,桶堵用塑料做成,使该桶所装产品在桶口处亦不受铁锈污染,保证了产品的原色原样、高纯度。其桶壳结构与标准钢桶相同,满足人工搬动和机械吊装及车船运输条件。该桶造价低,其桶壳可以回收,旧钢桶修复使用。该桶适用于远途车船运输和贮存腐蚀性及要求保持原色原样、高纯度产品。
权利要求书
1、一种衬膜钢桶。桶壳盖(1)、桶壳体(2)、桶壳底(5),上述三者组成一个带口的封闭容器,本实用新型的特征在于:上述的桶壳盖(1)、桶壳体(2)、桶壳底(5)内壁有胶粘剂(4)贴有塑料衬膜(3)。桶壳盖(1)上的大口(1a)处镶有塑料衬圈(26)及锁圈(29),桶堵(24)用塑料作成,其根部镶有密封环(25),小口(1b)处镶有塑料衬圈(32)及锁圈(33),桶堵(30)用塑料作成,其根部镶有密封环(31)。
2、据权利要求1所述的桶,其特征在桶壳盖(1)上大口(1a)处镶有钢制螺圈(12),小口(1b)处镶有钢制螺圈(20)。
3、据权利要求1或2所述的桶,其特征在于:桶壳盖(1)上大口(1a)处设有填料(23)。
4、据权利要求1所述的桶,其特征在于:桶壳盖(1)上大口(1a)处设有胶垫(28)与锁圈(29)外园台面(29c)配合,小口(1b)处设有胶垫(36)与塑料衬圈(32)外园台面(32c)配合。
5、据权利要求2所述的桶,其特征在于:桶壳盖(1)上大口(1a)处设有胶垫(13)与锁圈(14)外园台面(14c)配合,小口(1b)处设有胶垫(19)与塑料衬圈(21)外园台面(21b)配合。
6、据权利要求1所述的桶,其特征在于:桶壳盖(1)上大口(1a)处设有定位销(27),小口(1b)处设有定位销(34)。
7、据权利要求2所述的桶,其特征在于:桶壳盖(1)上大口(1a)处设有定位销(10),小口(1b)处设有定位销(10)。
8、据权利要求1或2或3或4或5或6或7所述的桶,其特征在于:桶壳盖(1)上大口(1a)处设有填料(9),小口(1b)处设有填料(9)。
说明书
一种衬膜钢桶,其属于容器类。
在先有技术中,用于腐蚀性及要求保持原色原样高纯度产品的包装桶,有塑料桶,喷塑桶和钢塑复合桶。塑料桶在低温条件下抗冲击性能差,限制了在寒冷的北方冬季的使用。此外,在车船运输过程中,桶体之间相互磨擦产出高压静电,往往失火造成恶性事故;喷塑桶,是在钢桶内壁喷涂有塑料保护层,其涂层不耐溶剂,抗腐蚀性能差往往满足不了用户的要求;钢塑复合桶,是在钢桶内装有塑料桶胆,桶胆嘴伸出钢桶壳。钢塑复合桶的使用过程中,桶胆嘴根部往往受拉应力和剪应力过大而断裂,造成桶的泄漏。再是该桶自重大,造价高。
本实用新型的目的在于:设计一种衬膜钢桶,使其耐溶剂,抗腐蚀性能好,在抵温条件下抗冲击,高温条件下不变形抗老化,桶嘴及其密封结构可靠,在车船运输过程中安全,造价低。为长途车船运输和贮存腐蚀性及要求保持原色原样高纯度产品,提供一种安全可靠价格便宜的包装工具。
本实用新型的技术解决方案是:一种衬膜钢桶,它包括一个桶壳体,一个桶壳盖和一个桶壳底,桶壳盖上设有一大一小两个口,大口用于料的进出,小口用于进出料时通气。该技术方案的特殊之处在于,桶壳内壁粘贴有一种塑料衬膜,桶口设有塑料衬圈,桶堵用塑料做成。
上述技术方案的指导思想是:其桶壳结构与标准钢桶结构相同,使该桶的人工搬动和机械吊装方便可行,满足车船运输条件;桶壳内壁粘贴有一种塑料衬膜耐溶剂、抗腐蚀、低温性能好,适用温度范围宽,-48/110℃,满足使用条件,桶口设有塑料衬圈,桶堵用塑料做成,使该桶所装产品在桶口处亦不受铁锈污染,保证了产2品原色原样高纯度。
附图说明
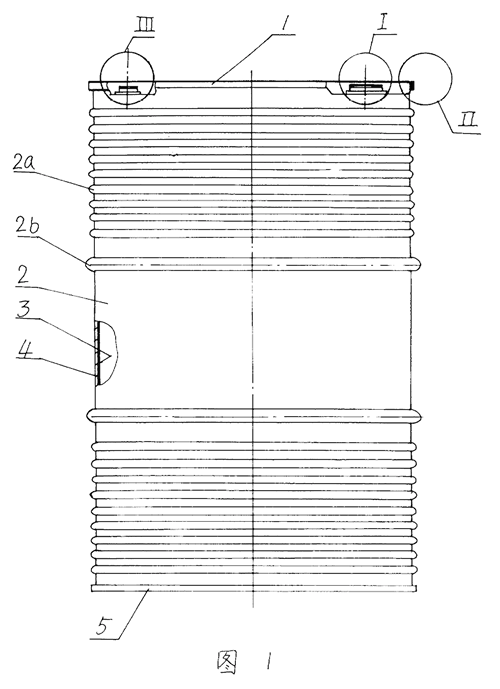
附图1是衬膜钢桶的总体结构图。

附图2是桶壳盖上有钢制螺圈大口的结构图。

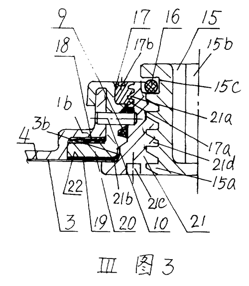
附图3是桶壳盖上有钢制螺圈小口的结构图。

附图4是桶壳盖与桶壳体连接5层卷边结构图。

附图5是桶壳盖与桶壳体连接7层卷边结构图。

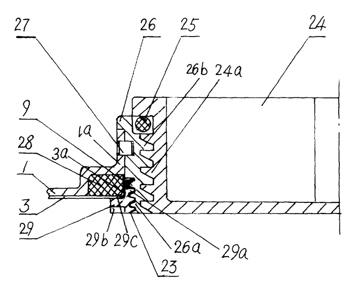
附图6是桶壳盖上无钢制螺圈大口的结构图。

图6
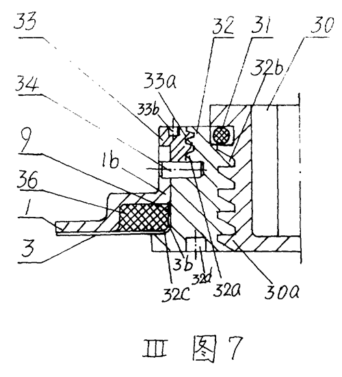
附图7是桶壳盖上无钢制螺圈小口的结构图。

下面是本实用新型的一个实施例,通过对该实施例的描述和附图,绘出本实用新型的细节。
附图1是一个衬膜钢桶的总体结构图。该园形桶的总高为900毫米,内径560毫米,其容量为200公升。桶壳体(2)是由钢板滚压而成,并且还滚压出18道小凸起(2a)和2道大凸起(2b),以加强其径向刚性。桶壳盖(1)上开有一大一小两个口(1a)(1b),大口的结构见图2或图6,小口的结构见图3或图7。桶壳盖(1)和桶壳底(5)都是用钢板冲压而成,桶壳盖(1),桶壳底(5)分别和桶壳体(2)连接在一起,其结构相同,见图4或图5。桶壳体(2),桶壳盖(1),桶壳底(5)内壁有胶粘剂(4)贴有塑料衬膜(3)。
附图2是桶壳盖上有钢制螺圈大口的结构图。桶壳盖(1)上大口(1a)内镶有钢制螺圈(12),胶垫(11)起密封作用。钢制螺圈(12)内镶有塑料衬圈(8),锁圈(14)注塑成形,其螺纹(14a)和塑料衬圈(8)的外螺纹(8a)配合,纵向锁紧塑料衬圈(8),其螺纹配合间隙设有填料(23),锁圈(14)外圆台面(14c)与胶垫(13)配合压紧塑料衬膜(3)的进出料口周边(3a),胶垫(13)用胶粘剂(22)和钢制螺圈(12)粘贴在一起。盲孔(8b)和缺口(14b)为装配工艺所需。填料(9)及(23)起密封作用。定位销(10)是为了防止塑料衬圈(8)圆周方向松动。桶堵(6)注塑成形,其螺纹(6a)与塑料衬圈(8)内螺纹(8c)配合,桶堵(6)根部镶有密封环(7),桶堵(6)内腔设有凸牙(6b),供上紧桶堵(6)所用。
附图3是桶壳盖上有钢制螺圈小口的结构图。桶壳盖(1)上小口(1b)镶有钢制螺圈(20),胶垫(18)起密封作用。钢制螺圈(20)内镶有塑料衬圈(21),锁圈(17)注塑成形,其螺纹(17a)和塑料衬圈(21)的外螺纹(21a)配合,纵向锁紧塑料衬圈(21),塑料衬圈外园台面(21b)与胶垫(19)配合压紧塑料衬膜(3)的通气口周边(3b),胶垫(19)用胶粘剂(22)和钢制螺圈(20)粘在一起盲孔(17b)和(20c)为装配工艺所需。填料(9)起密封作用。定位销(10)是为了防止塑料衬圈(21)园周方向松动。桶堵(15)注塑成形,其螺纹(15a)与塑料衬圈(21)的内螺纹(21d)配合,桶堵(15)根部镶有密封环(16),桶堵(15)内腔设有凸牙 (15b),供上紧桶堵(15)用。
附图4是桶壳盖与桶壳体连接5层卷边结构图,此结构也适用于桶壳底(5)与桶壳体(2)的连接。图中,桶壳盖(1)的卷边(1a)、(1b)包围桶壳体(2)的卷边(2a),经压紧后互相咬合。此结构使桶的边缘具有较大的刚性。
附图5是桶壳盖与桶壳体连接7层卷边结构图。此结构也适用于桶壳底(5)与桶壳体(2)的连接。图中,桶壳盖(1)的卷边(1a)、(1b)、(1c)包围桶壳体(2)的卷边(2a)、(2b),经压紧后互相咬合。此结构使桶的边缘具有较大的径向刚性。
附图6是桶壳盖上无钢制螺圈大口的结构图。桶壳盖(1)上大口(1a)内镶有塑料衬圈(26),锁圈(29)注塑成形,其螺纹(29a)和塑料衬圈(26)的外螺纹(26a)配合,纵向锁紧塑料衬圈(26),其螺纹配合间隙设有填料(23),锁圈(29)外缘台面(29c)与胶垫(28)配合压紧塑料衬膜(3)的进出料口周边(3a),胶垫(28)和桶壳盖(1)上大口(1a)粘贴在一起。缺口(29b)为装配工艺所需。填料(9)及(23)起密封作用。定位销(27)是为了防止塑料衬圈(26)园周方向松动。桶堵(24)注塑成形,其 螺纹(24a)与塑料衬圈(26)的内螺纹(26b)配合,桶堵(24)根部镶有密封环(25)。
附图7是桶壳盖上无钢制螺圈小口的结构图。桶壳盖(1)上小口(1b)内镶有塑料衬圈(32),锁圈(33)注塑成形,其螺纹(33a)和塑料衬圈(32)的外螺纹(32a)配合纵向锁紧塑料衬圈(32),塑料衬圈外园台面(32c)与胶垫(36b)配合压紧塑料衬膜(3)的通气口周边(3b),胶垫(36)和桶壳盖(1)上小口(1b)粘贴在一起。盲孔(32d)和(33b)为装配工艺所需。填料(9)起密封作用。定位销(34)是为了防止塑料衬圈(32)园周方向松动。桶堵(30)注塑成形,其螺纹(30a)与塑料衬圈(32)的内螺纹(32b)配合,桶堵(30)根部镶有密封环(31)。
本实用新型的效果在于:一种衬膜钢桶,其内壁粘贴有一中塑料衬膜耐溶剂,抗腐蚀,低温性能好、适用温度范围宽,-48/110℃满足使用条件;桶口设有塑料衬圈,桶堵用塑料作成,可以使该桶所装产品在桶口处亦不受铁锈污染;钢制外壳使该桶不易损坏;其桶壳结构与标准钢桶相同,使该桶的人工搬动和机械调装方便可行,满足车船运输条件。该桶造价低,其桶壳可以回收旧钢桶回收使用。该桶为车船运输和贮存腐蚀性及要求保持原色原样高纯度产品提供了一中有效工具,解决了人们期待解决的问题。